Запчасти Case CX55B (35.310.AA[15]) - CONTROL VALVE SECTION, DOZER, ROTARY DOZER (35) - HYDRAULIC SYSTEMS

Схема запчастей Case CX55B - (35.310.AA[15]) - CONTROL VALVE SECTION, DOZER, ROTARY DOZER (35) - HYDRAULIC SYSTEMS
5
4
3
8
10
26
25
15
27
16
1
14
18
7
9
24
23
2
17
19
11
12
22
6
21
13
20
FIT
1:1
100%

Артикул

Название

Примечание

Количество

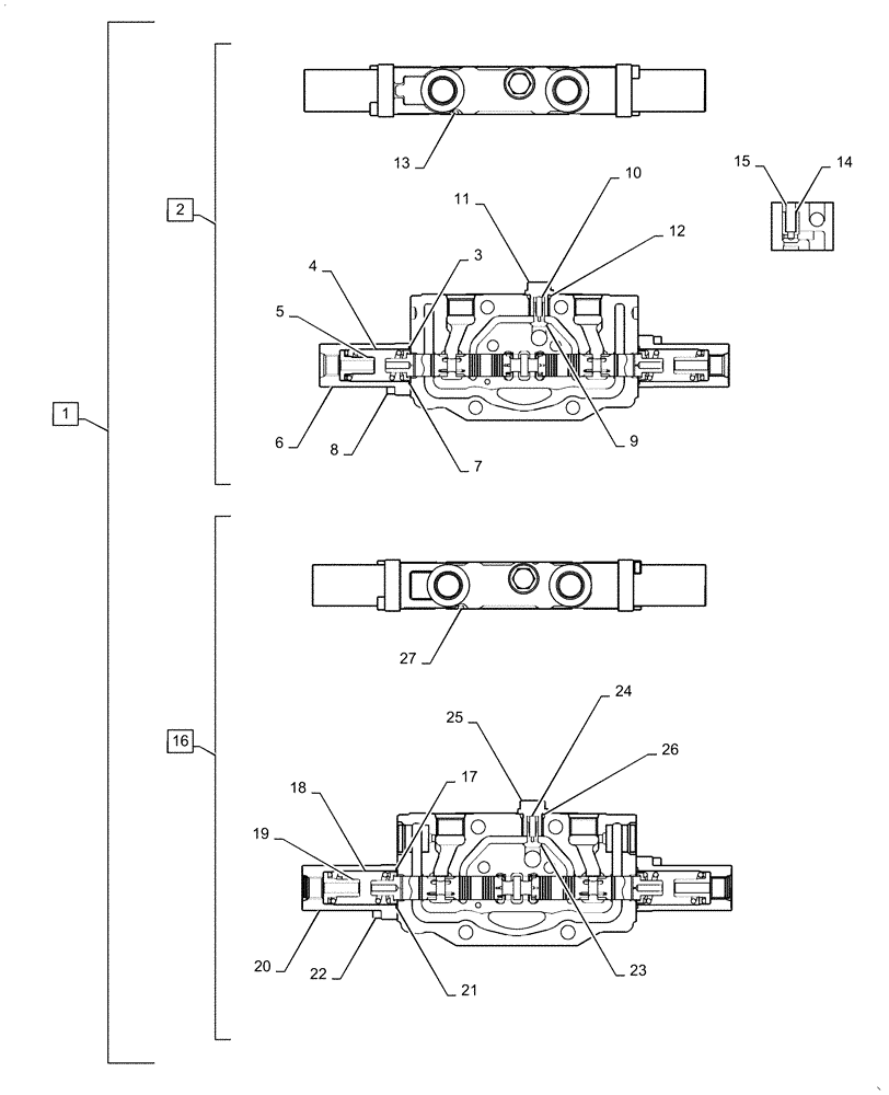
1

PS30V00004F1

CONTROL VALVE

Assy, Incl 2 - 27

1шт.

2

PS30V00016F1

SPOOL

Section Assy, Dozer, Incl 3 - 15

1шт.

3

PV30V00006S004

SEAT/SLOT

Spring

2шт.

4

PS30V00007S004

SPRING

2шт.

5

PS30V00007S005

SPRING SEAT

2шт.

6

PS30V00007S006

CAP

2шт.

7

PV30V00010S011

O-RING

2шт.

8

PV30V00010S012

SCREW

Socket Head

4шт.

9

PS30V00007S009

POPPET

1шт.

10

PS30V00007S010

SPRING

1шт.

11

PS30V00007S011

PLUG

1шт.

12

ZD12P01100

O-RING

1шт.

13

PS30V00007S014

O-RING

1шт.

14

PS30V00009S009

POPPET

1шт.

15

2436U1757S25

SPRING

1шт.

16

PS30V00020F1

SPOOL

Section Assy, Rotary Dozer, Incl 17 - 27

1шт.

17

PV30V00006S004

SEAT/SLOT

Spring

2шт.

18

PS30V00007S004

SPRING

2шт.

19

PS30V00007S005

SPRING SEAT

2шт.

20

PS30V00007S006

CAP

2шт.

21

PV30V00010S011

O-RING

2шт.

22

PV30V00010S012

SCREW

Socket Head

4шт.

23

PS30V00007S009

POPPET

1шт.

24

PS30V00007S010

SPRING

1шт.

25

PS30V00007S011

PLUG

1шт.

26

ZD12P01100

O-RING

1шт.

27

PS30V00007S014

O-RING

1шт.

Выбрано товаров: 27