Запчасти Case CX55B (35.310.AF[01]) - VALVE, ASSY, SELECTOR, NIBBLER & BREAKER (35) - HYDRAULIC SYSTEMS

Схема запчастей Case CX55B - (35.310.AF[01]) - VALVE, ASSY, SELECTOR, NIBBLER & BREAKER (35) - HYDRAULIC SYSTEMS
11
2
3
9
7
7
1
4
6
8
5
10
FIT
1:1
100%

Артикул

Название

Примечание

Количество

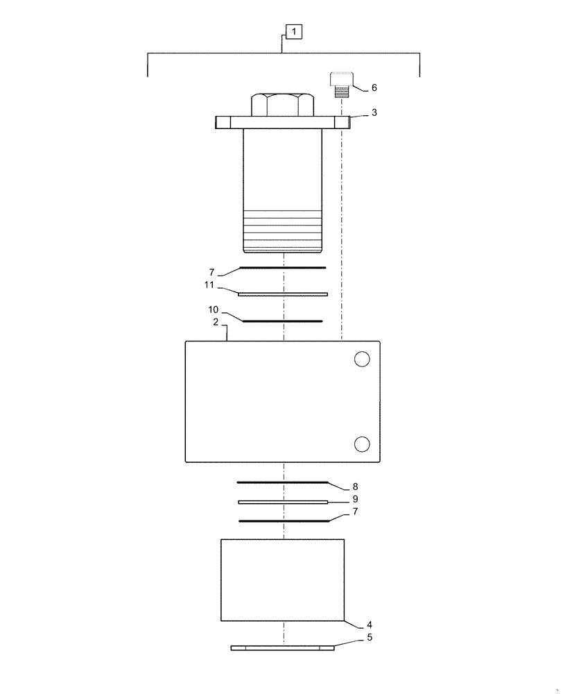
1

PH30V00007F1

VALVE

Selector, Incl 2 - 11

1шт.

2

PH30V01001P1

BODY

1шт.

3

PH30V01002P1

VALVE

Block

1шт.

4

PH30V01003P1

SPACER

1шт.

5

ZR16X03500

RING

Snap

1шт.

6

ZS28C06010

CAPSCREW,Hex Socket Head, M6 x 10mm

1шт.

7

ZD11G03500

O-RING,34.40mm ID x 40.60mm OD x 3.10mm

2шт.

8

ZD12G03500

O-RING,34.40mm ID x 40.60mm OD x 3.10mm

1шт.

9

ZD75G03500

RING

Back-Up

1шт.

10

ZD12G03000

O-RING,29.40mm ID x 35.60mm OD x 3.10mm

1шт.

11

ZD85G03000

BACK-UP RING

1шт.

Выбрано товаров: 0