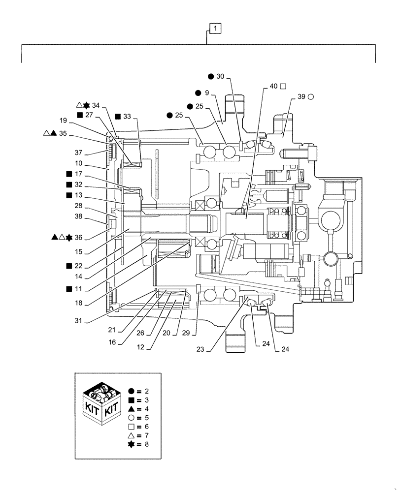
Запчасти Case CX55B (35.353.AD[02]) - TRAVEL MOTOR & REDUCTION GEAR, ASSY (35) - HYDRAULIC SYSTEMS

Схема запчастей Case CX55B - (35.353.AD[02]) - TRAVEL MOTOR & REDUCTION GEAR, ASSY (35) - HYDRAULIC SYSTEMS
7
8
3
29
3
19
8
5
2
3
3
37
2
7
33
17
36
4
14
2
2
6
5
3
20
21
39
2
4
30
38
25
7
32
6
5
25
2
7
12
1
40
31
35
26
3
3
15
24
4
7
34
27
18
3
4
9
28
3
16
10
13
24
11
22
6
8
8
23
FIT
1:1
100%

Артикул

Название

Примечание

Количество

1

PS15V00003F1

MOTOR-PUMP

Assy, Propel, Incl 2 - 40

1шт.

2

PS15V00003R400

KIT

Repair, Incl 9 (1), 30 (1), 25 (2)

1шт.

3

PS15V00003R410

KIT

Repair, Incl 11 (1), 22 (1), 13 (3), 17 (3), 32 (3), 33 (3), 27 (3)

1шт.

4

PS15V00003R420

KIT

Repair, Incl 35 (10), 36 (10)

1шт.

5

PS15V00003R430

KIT

Repair, Incl 39 (1)

1шт.

6

LE15V00006R440

KIT

Repair, Incl 40 (1)

1шт.

7

LE15V00006R460

KIT

Repair, Incl 34 (1), 36 (1), 35 (2)

1шт.

8

PS15V00003R470

KIT

Repair, Incl 34 (2), 36 (2)

1шт.

9

NSS

NOT SOLD SEPARAT

Body, Incl in 2

1шт.

10

PS15V00003S102

COVER

1шт.

11

NSS

NOT SOLD SEPARAT

Carrier, Incl in 3

1шт.

12

PS15V00003S106

GEAR

4шт.

13

NSS

NOT SOLD SEPARAT

Gear, Incl in 3

3шт.

14

PS15V00003S108

GEAR

1шт.

15

PS15V00003S109

GEAR

1шт.

16

LE15V00006S110

RING

4шт.

17

NSS

NOT SOLD SEPARAT

Ring, Incl in 3

3шт.

18

PV15V00008S140

THRUST WASHER

1шт.

19

PY15V00011S113

RING

1шт.

20

PS15V00003S114

PLATE

4шт.

21

PS15V00003S115

PLATE

1шт.

22

NSS

NOT SOLD SEPARAT

Plate, Incl in 3

1шт.

23

LE15V00006S117

SEAL

Incl 24

2шт.

24

NSS

NOT SOLD SEPARAT

O-Ring

2шт.

25

NSS

NOT SOLD SEPARAT

Bearing, Incl in 2

2шт.

26

LE15V00006S120

BEARING ASSY

Needle

136шт.

27

NSS

NOT SOLD SEPARAT

Bearing, Needle, Incl in 3

69шт.

28

PU15V00018S115

RING

1шт.

29

PY15V00011S123

SNAP RING

Retaining

1шт.

30

NSS

NOT SOLD SEPARAT

Ring, Snap, Incl in 2

1шт.

31

LE15V00006S125

RING

4шт.

32

NSS

NOT SOLD SEPARAT

Ring, Snap, Incl in 3

3шт.

33

NSS

NOT SOLD SEPARAT

Washer, Thrust, Incl in 3

3шт.

34

PY15V00011S129

O-RING

1шт.

35

ZD12P01400

O-RING

4шт.

36

ZD12P00800

O-RING,1.9mm Thk x 7.8mm ID, 90 Duro

3шт.

37

PH15V00002S132

PLUG

2шт.

38

PV15V00026S133

PLUG

1шт.

39

NSS

NOT SOLD SEPARAT

Body, Incl in 5

1шт.

40

NSS

NOT SOLD SEPARAT

Shaft, Incl in 6

1шт.

Выбрано товаров: 40