Запчасти Case CX55B (35.357.AG[01]) - PILOT VALVE, ASSY, TRAVEL ALARM (35) - HYDRAULIC SYSTEMS

Схема запчастей Case CX55B - (35.357.AG[01]) - PILOT VALVE, ASSY, TRAVEL ALARM (35) - HYDRAULIC SYSTEMS
6
2
37
31
26
2
8
10
3
1
21
19
5
14
23
3
13
3
22
7
2
16
34
15
38
3
33
25
2
12
9
17
24
11
27
32
28
4
30
2
35
2
20
36
18
29
FIT
1:1
100%

Артикул

Название

Примечание

Количество

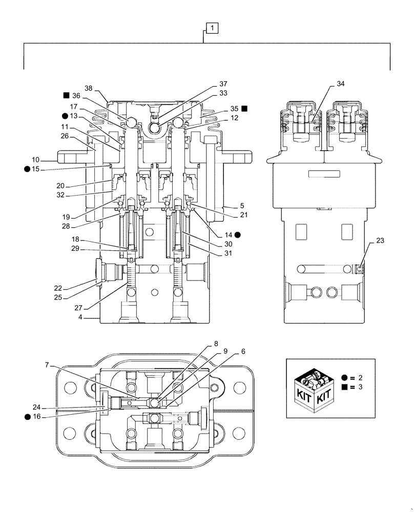
1

PS30V00006F1

PILOT VALVE

Assembly, Travel Alarm, Incl 2 - 38

1шт.

2

PM30V00019R100

REPAIR KIT

Incl 16 (2), 13 - 15 (4)

1шт.

3

PX30V00082R200

REPAIR KIT

Repair, Incl 35 (2), 36 (4)

1шт.

4

NSS

NOT SOLD SEPARAT

Body, Incl in 1

1шт.

5

NSS

NOT SOLD SEPARAT

Body, Incl in 1

1шт.

6

NSS

NOT SOLD SEPARAT

Sheet, Incl in 1

2шт.

7

PS30V00006S192

SHEET

2шт.

8

YN30V00070S193

BUSHING

2шт.

9

2441U729S511

BALL

2шт.

10

PX30V00082S201

COVER

2шт.

11

PM30V00019S202

PLUG

4шт.

12

PX30V00082S203

CAP

4шт.

13

PM30V00019S210

PACKING

4шт.

14

PM30V00019S211

O-RING

4шт.

15

YT30V00009S212

O-RING

4шт.

16

ZD12P00800

O-RING,1.9mm Thk x 7.8mm ID, 90 Duro

4шт.

17

PX30V00082S214

PUSH ROD

4шт.

18

EN30V00024S217

SHIM

4шт.

19

PM30V00019S218

SPRING SEAT

4шт.

20

NSS

NOT SOLD SEPARAT

Piston, Incl in 1

4шт.

21

2436U625S232

BALL

12шт.

22

YW30V00001S157

PLUG

3шт.

23

2441U722S490

PLUG

6шт.

24

YN30V00001S158

PLUG

2шт.

25

ZD12P01100

O-RING

3шт.

26

PX30V00082S271

SCREW

Cap

4шт.

27

NSS

NOT SOLD SEPARAT

Spool, Incl in 1

4шт.

28

EN30V00045S311

SEAT

4шт.

29

EN30V00024S313

WASHER

4шт.

30

PX30V00082S324

SPRING

4шт.

31

PX30V00082S335

SPRING

4шт.

32

PM30V00019S336

SPRING

4шт.

33

YA30V00009S413

SHAFT

2шт.

34

EN30V00045S414

BUSHING

4шт.

35

PX30V00082S420

CAM

2шт.

36

2483U172S19

BALL

4шт.

37

YR30V00003S423

SCREW

2шт.

38

PX30V00082S501

BELLOWS

2шт.

Выбрано товаров: 38