Качественные детали и логистика
Оригинальные и аналоговые запчасти с доставкой по России, Казахстану и Беларуси
©2022 PartSell ООО "Система" ИНН 2463123282 ОГРН 1212400004838
Центральный офис: г. Красноярск, Академика Киренского, д.87, пом.4
Телефон: 8 (800) 777-65-74 Email: zakaz@partsell.ru
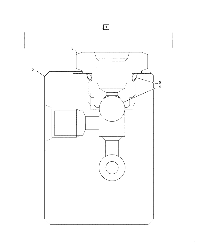
(35.944.AG[01]) - VALVE, SHUTTLE, ASSY
№
Артикул
Название
Примечание
Количество
1
PH26V00001F1
VALVE
Shuttle, Incl 2 - 5
1шт.
2
PH26V00001S001
BODY
Block
3
PH26V00001S002
HYD CONNECTOR
2шт.
4
PH26V00001S003
BALL
5
ZD12P01800
O-RING
Выбрано товаров: 0