Запчасти Case CX55B (50.200.AB[01]) - AIR CONDITIONING, LINES (50) - CAB CLIMATE CONTROL

Схема запчастей Case CX55B - (50.200.AB[01]) - AIR CONDITIONING, LINES (50) - CAB CLIMATE CONTROL
18
11
10
17
9
2
5
12
7
13
4
6
3
19
14
16
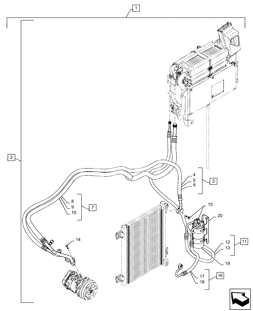
1
20
15
8
FIT
1:1
100%

Артикул

Название

Примечание

Количество

1

PS20M00002F1

AIR CONDITIONER

Installation, Incl 2 - 20

1шт.

2

PS96V00003F1

RECEIVER-DRYER

Installation, Incl 3, 7, 11, 14 - 16, 19, 20

1шт.

3

PS20M01026F2

HOSE

Assy, Compressor to Condensor, D-Hose, Incl 4 - 6

1шт.

4

PS20M01026S001

HOSE

1шт.

5

2445Z1604D4

O-RING

2шт.

6

YN20M01726P1

CAP

1шт.

7

PS20M01027F2

HOSE

Assy, Compressor to A/C, S-Hose, Incl 8 - 10

1шт.

8

PS20M01027S001

HOSE

1шт.

9

2445Z1604D5

O-RING

2шт.

10

YN20M01725P1

CAP

1шт.

11

PS20M01085F1

HOSE

Assy, Receiver-Dryer to A/C, L-Hose, Incl 12 - 13

1шт.

12

PS20M01085S001

HOSE

1шт.

13

2445Z1604D6

O-RING

2шт.

14

YT96V00001S009

SCREW

Cap

2шт.

15

YT96V00001S010

CAP

screw

4шт.

16

PS20M01089F1

HOSE

Assy, Receiver-Dryer to Condensor, Incl 17, 18

1шт.

17

PS20M01089S001

HOSE

1шт.

18

2445Z1604D6

O-RING

2шт.

19

PY20M01300F1

RECEIVER-DRYER,Air Conditioning

1шт.

20

YT20M01187P1

BRACKET

1шт.

Выбрано товаров: 0