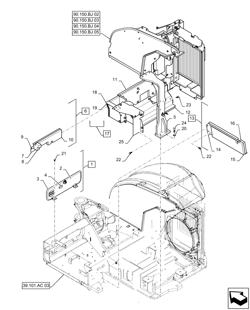
Запчасти Case CX55B (90.150.BJ[01]) - GUARD INSTALL (CAB) (90) - PLATFORM, CAB, BODYWORK AND DECALS

Схема запчастей Case CX55B - (90.150.BJ[01]) - GUARD INSTALL (CAB) (90) - PLATFORM, CAB, BODYWORK AND DECALS
39.101.ac 03
9
12
4
11
10
2
3
22
90.150.bj 03
19
14
90.150.bj 05
21
22
8
1
23
90.150.bj 02
7
90.150.bj 04
18
15
25
17
20
13
16
5
24
6
FIT
1:1
100%

Артикул

Название

Примечание

Количество

.

Guard Install, PS21C00001F1

1шт.

1

PS21C01018F1

COVER ASSY

Incl 2 - 4

1шт.

2

PS21C01178P2

COVER

1шт.

3

LQ21C02685D4

TRIM

1шт.

4

PM21C01255P2

GROMMET

1шт.

5

PS21C01032P1

SUPPORT

1шт.

6

PS21C01037F1

COVER ASSY

Incl 7 - 10

1шт.

7

PS21C01173P1

PLATE

1шт.

8

PS21C01466P1

RUBBER STRIP

1шт.

9

PM02C01035D9

WEATHERSTRIP

1шт.

10

PS21C01348P1

INSULATION

1шт.

11

PS22C01056F1

GUARD

Assy

1шт.

12

PS22C01064F1

GUARD

Assy

1шт.

13

PS22C01133F1

GUARD

Assy, Incl 14 - 16

1шт.

14

PS22C01126P1

GUARD

1шт.

15

PS22C01134P1

INSULATION

1шт.

16

PS22C01135P1

INSULATION

1шт.

17

PS21C01042F1

GUARD

Assy, Incl 18, 19

1шт.

18

PS21C01043P1

PLATE

1шт.

19

YR21C01168D2

WEATHERSTRIP

1шт.

20

ZW16H16000

WASHER

2шт.

21

ZM73C08016

BOLT,M8x16mm - Course Thread

Sems

2шт.

22

ZM73C10016

BOLT,M10x16mm - Course Thread

Sems

24шт.

23

ZM73C10020

BOLT,M10x20mm - Course Thread

Sems

18шт.

24

ZS18C16055

SCREW,Hex, M16 x 55mm

Cap

2шт.

25

PS21C01319P1

PLATE

1шт.

Выбрано товаров: 26