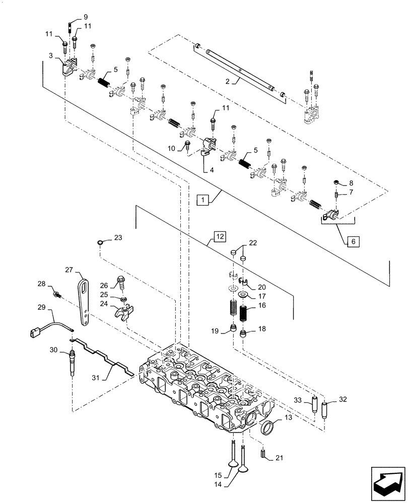
Запчасти Case CX55B (10.101.AA[01]) - CYLINDER HEAD AND BONNET (10) - ENGINE

Схема запчастей Case CX55B - (10.101.AA[01]) - CYLINDER HEAD AND BONNET (10) - ENGINE
21
20
5
5
31
11
1
28
24
22
3
23
26
12
11
27
9
29
25
13
18
2
15
32
19
30
4
16
7
17
6
10
8
11
33
14
FIT
1:1
100%

Артикул

Название

Примечание

Количество

.

Cylinder Head and Bonnet

1шт.

1

VV12960111241

SHAFT ASSY.

Incl 2 - 11

1шт.

2

VV12960111251

SHAFT

1шт.

3

VV11980211260

SUPPORT

2шт.

4

VV11980211270

SUPPORT

3шт.

5

VV12915011280

SPRING

4шт.

6

VV12900411650

ARM ASSY.

Rocker, Incl 7, 8

8шт.

7

VV12915011230

SCREW

8шт.

8

VV12915011750

NUT

8шт.

9

VV26226080182

STUD,M8 x 18mm

3шт.

10

VV26106080252

BOLT,M8 x 25mm

3шт.

11

VV26106080502

BOLT,M8 x 50mm

7шт.

12

VV129C0011710

CYLINDER HEAD

Assy, Incl 13 - 21

1шт.

13

VV27241400000

PLUG

2шт.

14

VV12900511100

VALVE

4шт.

15

VV12910011112

STD EXHAUST VALVE

4шт.

16

VV12979511120

VALVE SPRING

8шт.

17

VV12979511180

SPRING

8шт.

18

VV12446011340

SEAL

Valve Stem

4шт.

19

VV129A0011340

SEAL

Valve Stem

4шт.

20

VV27310080001

COTTER PIN

8шт.

21

VV22351060012

SPRING,6 x 12mm

2шт.

22

VV12915011370

CAP

8шт.

23

VV12997811871

GASKET

Injector

4шт.

24

VV129A0011900

RETAINER

Injector

4шт.

25

VV12027054410

WASHER

4шт.

26

VV26106080352

BOLT,M8 x 35mm

4шт.

27

VV12990007900

GRAIN LIFTER

1шт.

28

VV26106080162

BOLT,M8 x 16mm

2шт.

29

VV11980377830

WIRE HARNESS

1шт.

30

VV12900877800

PLUG

4шт.

31

VV129C0077820

ELEC CONNECTOR

Glow Plug

1шт.

32

VV12013011860

VALVE GUIDE

4шт.

33

VV12915011810

VALVE GUIDE

4шт.

Выбрано товаров: 34