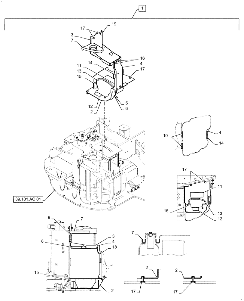
Запчасти Case CX55B (10.216.AI[02]) - FUEL TANK & ASSOCIATED PARTS (10) - ENGINE

Схема запчастей Case CX55B - (10.216.AI[02]) - FUEL TANK & ASSOCIATED PARTS (10) - ENGINE
12
3
8
7
1
17
12
11
17
17
10
4
7
5
19
15
2
4
6
18
17
9
16
15
13
13
15
2
7
39.101.ac 01
3
11
14
14
17
2
4
2
FIT
1:1
100%

Артикул

Название

Примечание

Количество

1

PS20P00003F1

FUEL TANK

Tank Install, Fuel, Incl 2 - 19

1шт.

2

PS20P01001P1

PLATE

Assy

1шт.

3

PS20P01003P1

BRACKET

Assy

1шт.

4

PS20P01007P1

PLATE

Assy

1шт.

5

YN05P00010S007

COCK, DRAIN

1шт.

6

PM05P01046P1

BOSS

1шт.

7

PS20P01046P1

RUBBER STRIP

1шт.

8

PS20P01047P1

HOSE

1шт.

9

PS20P01049P1

ELEC CONNECTOR

1шт.

10

PW20P01115P1

RUBBER

2шт.

11

PS20P01014P1

RUBBER STRIP

1шт.

12

PS20P01051P1

RUBBER STRIP

1шт.

13

PS20P01016P1

RUBBER STRIP

1шт.

14

PS20P01054P1

RUBBER STRIP

1шт.

15

PS20P01019P1

RUBBER STRIP

1шт.

16

ZM73C12030

BOLT,M12x30mm - Course Thread

Sems

4шт.

17

ZM73C12040

BOLT,M12x40mm - Course Thread

Sems

6шт.

18

PS20P01053P1

RUBBER STRIP

1шт.

19

PW03M01557P1

CAP

1шт.

Выбрано товаров: 19