Запчасти Case CX55BMSR (01-035[01]) - CONTROL LINES, REMOTE (ROTARY) (35) - HYDRAULIC SYSTEMS

Схема запчастей Case CX55BMSR - (01-035[01]) - CONTROL LINES, REMOTE (ROTARY) (35) - HYDRAULIC SYSTEMS
6
4
10
1
3
7
8
9
home
5
2
11
FIT
1:1
100%

Артикул

Название

Примечание

Количество

.

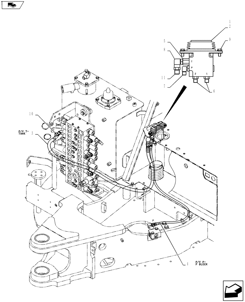
Control Lines Remote (Rotary) PY68H00037F1

1шт.

1

NSS

NOT SOLD SEPARAT

Control Lines Remote PY68H00027F1

1шт.

2

PB30V00002F2

PILOT VALVE

1шт.

3

PW68H01023DU

HOSE

1шт.

4

HX24L04096DX

HOSE ASSY.

1шт.

5

2444Z2525

HYD CONNECTOR

1шт.

6

HH25S04004G1

HYD CONNECTOR

2шт.

7

HH35S04004G2

90 ELBOW

1шт.

8

2444Z2894

90 ELBOW

1шт.

9

ZM73C08020

BOLT,M8x20mm - Course Thread

Sems

2шт.

10

ZC16X01800

CLIP

1шт.

11

HH25S06004G3

HYD CONNECTOR

1шт.

Выбрано товаров: 0