Запчасти Case CX55BMSR (01-038[03]) - PILOT VALVE, ASSY (BTW PS02-00101 - PS02-01836) (35) - HYDRAULIC SYSTEMS

Схема запчастей Case CX55BMSR - (01-038[03]) - PILOT VALVE, ASSY (BTW PS02-00101 - PS02-01836) (35) - HYDRAULIC SYSTEMS
5
22
25
11
28
14
13
3
27
29
15
19
2
9
home
18
4
1
12
23
24
20
8
21
26
6
16
30
10
17
7
FIT
1:1
100%

Артикул

Название

Примечание

Количество

.

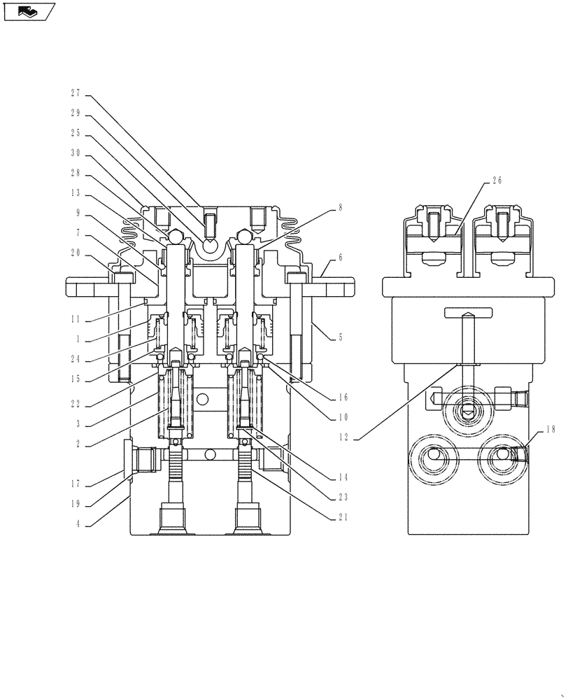
PM30V00019F7

PILOT VALVE

Assembly, Incl 1 - 30

1шт.

1

NSS

NOT SOLD SEPARAT

Piston

4шт.

2

PM30V00019S012

SPRING

4шт.

3

PM30V00019S015

SPRING

4шт.

4

NSS

NOT SOLD SEPARAT

Case

1шт.

5

NSS

NOT SOLD SEPARAT

Case

1шт.

6

PM30V00019S201

COVER

2шт.

7

PM30V00019S202

PLUG

4шт.

8

PM30V00019S203

CAP

4шт.

9

PM30V00019S210

PACKING

4шт.

10

PM30V00019S211

O-RING

4шт.

11

YT30V00009S212

O-RING

4шт.

12

ZD12P00800

O-RING,1.9mm Thk x 7.8mm ID, 90 Duro

2шт.

13

EN30V00045S214

ROD

4шт.

14

EN30V00024S217

SHIM

4шт.

15

PM30V00019S218

SPRING SEAT

4шт.

16

2436U625S232

BALL

12шт.

17

YW30V00001S157

PLUG

3шт.

18

2441U722S490

PLUG

2шт.

19

ZD12P01100

O-RING

3шт.

20

PM30V00019S271

CAPSCREW

4шт.

21

NSS

NOT SOLD SEPARAT

Spool

4шт.

22

EN30V00045S311

SEAT

4шт.

23

EN30V00024S313

WASHER

4шт.

24

PM30V00019S336

SPRING

4шт.

25

NSS

NOT SOLD SEPARAT

Shaft

2шт.

26

EN30V00045S414

BUSHING

4шт.

27

NSS

NOT SOLD SEPARAT

Cam

2шт.

28

NSS

NOT SOLD SEPARAT

Ball

4шт.

29

NSS

NOT SOLD SEPARAT

Setscrew

2шт.

30

PM30V00019S501

BOOT

Bellows

2шт.

PM30V00019R100

REPAIR KIT

Consists Of Item: 12(2), 9(1), 10(1), 11(1)

1шт.

PM30V00019R300

REPAIR KIT

Consists Of Item: 25(1), 27(1), 29(1), 28(2)

1шт.

Выбрано товаров: 0