Запчасти Case CX55BMSR (01-040[02]) - CONTROL LINES, MAIN (35) - HYDRAULIC SYSTEMS

Схема запчастей Case CX55BMSR - (01-040[02]) - CONTROL LINES, MAIN (35) - HYDRAULIC SYSTEMS
6
9
4
5
4
7
3
4
7
2
8
1
6
4
10
6
home
5
FIT
1:1
100%

Артикул

Название

Примечание

Количество

.

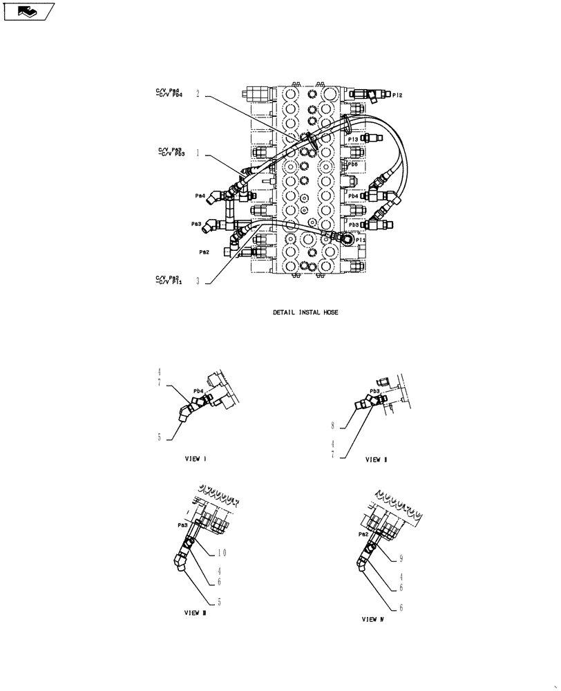
Main Control Lines PY06H00029F1, Start Serial: PS02-00101

1шт.

1

HX24L04086DX

HOSE

1шт.

2

HX24L04072DX

HOSE ASSY.

1шт.

3

HX24L04032DX

HOSE ASSY.

1шт.

4

HH55Q04004G1

TEE,1/4" ORB x 1/4" JIC x 1/4" JIC

7шт.

5

HH45S06004G1

45 ELBOW

3шт.

6

HH45S04004G1

45 ELBOW

6шт.

7

HH35S04004G2

90 ELBOW

2шт.

8

HH25S06004G3

HYD CONNECTOR

1шт.

9

2444Z2525

HYD CONNECTOR

5шт.

10

2444T2524D2

HYD CONNECTOR

2шт.

Выбрано товаров: 0