Запчасти Case CX55BMSR (01-049[02]) - CONTROLS, OPERATORS (90) - PLATFORM, CAB, BODYWORK AND DECALS

Схема запчастей Case CX55BMSR - (01-049[02]) - CONTROLS, OPERATORS (90) - PLATFORM, CAB, BODYWORK AND DECALS
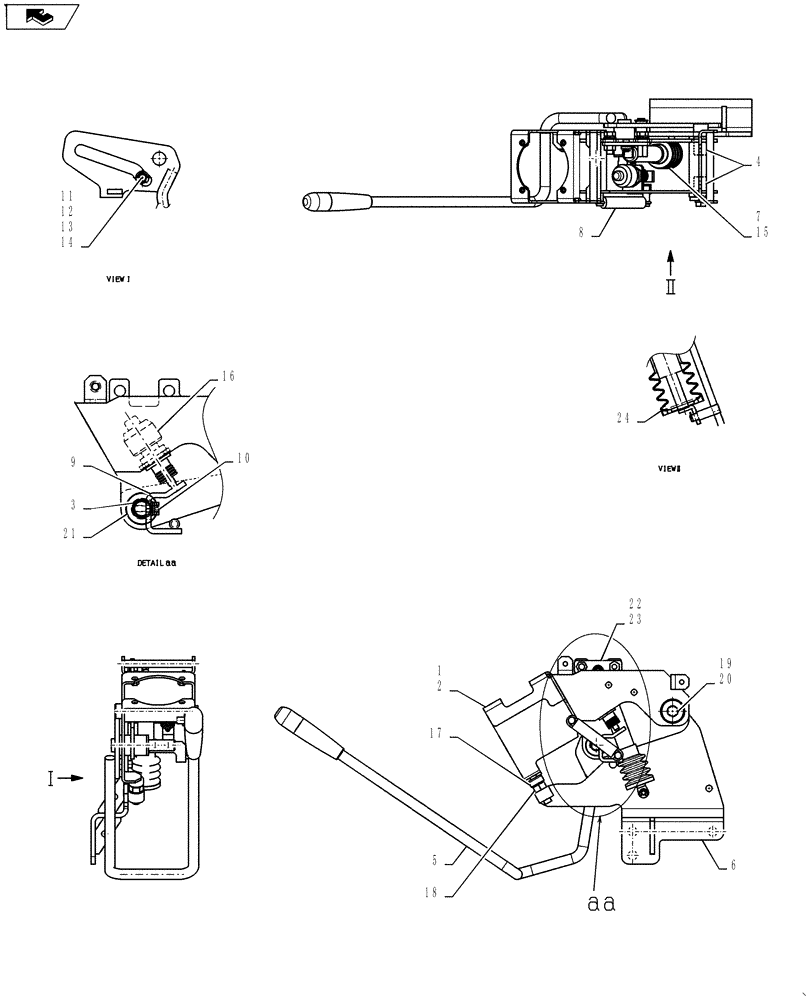
21
15
18
8
1
14
22
12
23
11
19
20
2
13
4
24
7
6
3
16
home
9
5
10
17
FIT
1:1
100%

Артикул

Название

Примечание

Количество

.

Operators Controls PY03M00021F1

1шт.

1

PW03M01500F1

CONTROL

Box

1шт.

2

PW03M01501P3

CONTROL

Box

1шт.

3

2405R312D1515

BUSHING,15mm ID x 17mm OD x 15mm L

2шт.

4

2405R312D2020

BUSHING

2шт.

5

PW03M01871P1

LEVER

1шт.

6

PY03M01251P1

SUPPORT

1шт.

7

PH03M01513F1

GAS STRUT

Spring

1шт.

8

PW03M01428P1

SPRING

1шт.

9

PW03M01415P1

SUPPORT

1шт.

10

ZM61C06020

BOLT

Sems

2шт.

11

PW03M01392F1

ROLLER ASSY.,15mm OD x 15mm L

1шт.

12

PW03M01391P1

ROLLER

1шт.

13

2405R312D1015

BUSHING

1шт.

14

ZR36X00900

SNAP RING

Snap

1шт.

15

ZR36X00500

SNAP RING

Snap

2шт.

16

PA50S00001P1

LIMIT SWITCH

Lever Lock

1шт.

17

PY06C01040P1

STOP

1шт.

18

ZN18F10008

NUT

1шт.

19

ZM12C08016

BOLT

Sems

1шт.

20

PM02C01425P1

WASHER

1шт.

21

ZW16P14000

WASHER

1шт.

22

PW03M01815P1

LEVER

1шт.

23

ZM22C08025

BOLT

Sems

2шт.

24

PY01P01043D2

CABLE TIE,4.60mm W x 202mm L

1шт.

Выбрано товаров: 25