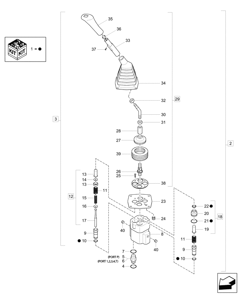
Запчасти Case CX33C (35.355.020) - VAR - 405028, 405030 - JOYSTICK, VALVE, REMOTE CONTROL (35) - HYDRAULIC SYSTEMS

Схема запчастей Case CX33C - (35.355.020) - VAR - 405028, 405030 - JOYSTICK, VALVE, REMOTE CONTROL (35) - HYDRAULIC SYSTEMS
13
18
34
1
9
13
12
6
40
29
21
38
31
7
3
10
1
25
14
10
9
39
22
11
26
20
40
1
17
28
2
27
33
5
15
16
11
32
35
1
30
36
23
19
24
4
37
8
1
1
FIT
1:1
100%

Артикул

Название

Примечание

Количество

1

XKAY-00747

SEAL KIT

ASSY, Incl 10, 21, 22

1шт.

2

31MK-20011

JOYSTICK

LH, ASSY, Incl 3 - 7

1шт.

2

31MK-20021

JOYSTICK

RH, ASSY, Incl 3 - 7

1шт.

3

31MK-21011

LEVER

LH, ASSY, Incl 8 - 12, 18, 23 - 29, 39, 40

1шт.

3

31MK-21021

LEVER

RH, ASSY, Incl 8 - 12, 18, 23 - 29, 39, 40

1шт.

4

S621-011001

O-RING,9/16 - 18 UNF

6шт.

5

31N6-25060

HYD CONNECTOR,Connector, PF 1/4 x 9/16 - 18 UNF

1шт.

6

X500-110001

HYD CONNECTOR,PF 1/4 x 9/16 - 18 UNF

3шт.

6

31N6-25160

2шт.

7

S631-011004

O-RING,PF 1/4

6шт.

8

XKAY-00726

TOOL BOX

1шт.

9

XKAY-00727

PLUG

4шт.

10

XKAY-00728

O-RING

4шт.

11

XKAY-01588

SPRING

4шт.

12

XKAY-00730

KIT

Spool, ASSY, Incl 13 - 17

1шт.

Port 1, 3

1шт.

12

XKAY-01589

KIT

Spool, ASSY, Incl 13 - 17

1шт.

Port 2, 4

1шт.

13

NSS

NOT SOLD SEPARAT

Spring Seat, Incl in 12

2шт.

Port 1, 3

1шт.

13

XKAY-00950

SPRING SEAT

2шт.

Port 2, 4

1шт.

14

NSS

NOT SOLD SEPARAT

Stopper, Incl in 12

4шт.

15

NSS

NOT SOLD SEPARAT

Spring, Incl in 12

2шт.

Port 1, 3

1шт.

15

XKAY-00746

SPRING

2шт.

Port 2, 4

1шт.

16

XKAY-00081

SPRING SEAT

4шт.

17

XKAY-00734

SPOOL

4шт.

18

XKAY-01590

PLUG

ASSY, Incl 19 - 22

1шт.

18

XKAY-01591

PLUG

ASSY, Incl 19 - 22

1шт.

19

NSS

NOT SOLD SEPARAT

Push Rod, Incl in 18

2шт.

Port 1, 3

1шт.

19

XKAY-00955

PUSH ROD

2шт.

Port 2, 4

1шт.

20

NSS

NOT SOLD SEPARAT

Plug, Incl in 18

4шт.

21

XKAY-00438

O-RING

4шт.

22

XKAY-01424

SEAL

4шт.

23

XKAY-00740

PLATE

1шт.

24

XKAY-00741

BUSHING

1шт.

25

XKAY-00742

SCREW

4шт.

26

XKAY-00049

JOINT

1шт.

27

XKAY-00985

PLATE

1шт.

28

XKAY-00047

NUT

1шт.

29

XKAY-00743

KIT

Handle, RH, ASSY, Incl 30 - 38

1шт.

29

XKAY-00744

KIT

Handle, LH, ASSY, Incl 30 - 38

1шт.

30

NSS

NOT SOLD SEPARAT

Hyd. Connector, Incl in 29

1шт.

31

XKAY-00046

NUT

1шт.

32

XKAY-00043

NUT

1шт.

33

XKAY-00327

INSERT

1шт.

34

XKAY-00041

BOOT

1шт.

35

XKAY-00328

HANDLE

LH

1шт.

35

XKAY-00330

HANDLE

RH

1шт.

36

XKAY-00329

SWITCH

1шт.

37

NSS

NOT SOLD SEPARAT

Screw, Incl in 29

1шт.

38

NSS

NOT SOLD SEPARAT

Plate, Incl in 29

1шт.

39

XKAY-00072

BOOT

1шт.

40

NSS

NOT SOLD SEPARAT

Plug, Incl in 2

2шт.

Выбрано товаров: 58