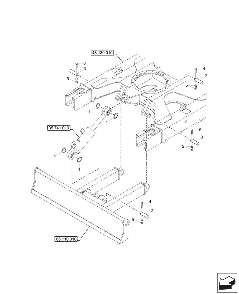
Запчасти Case CX37C (86.110.020) - DOZER BLADE, PIN (86) - DOZER

Схема запчастей Case CX37C - (86.110.020) - DOZER BLADE, PIN (86) - DOZER
35.741.010
5
4
1
2
5
1
6
1
5
1
6
4
5
3
3
2
86.110.010
48.130.010
FIT
1:1
100%

Артикул

Название

Примечание

Количество

1

S391-045080

SHIM

4шт.

2

61MH-51731

PIN

2шт.

3

61MH-51741

PIN

2шт.

4

S017-120956

BOLT

2шт.

5

S205-12100B

NUT

8шт.

6

S017-120906

BOLT

2шт.

Выбрано товаров: 0