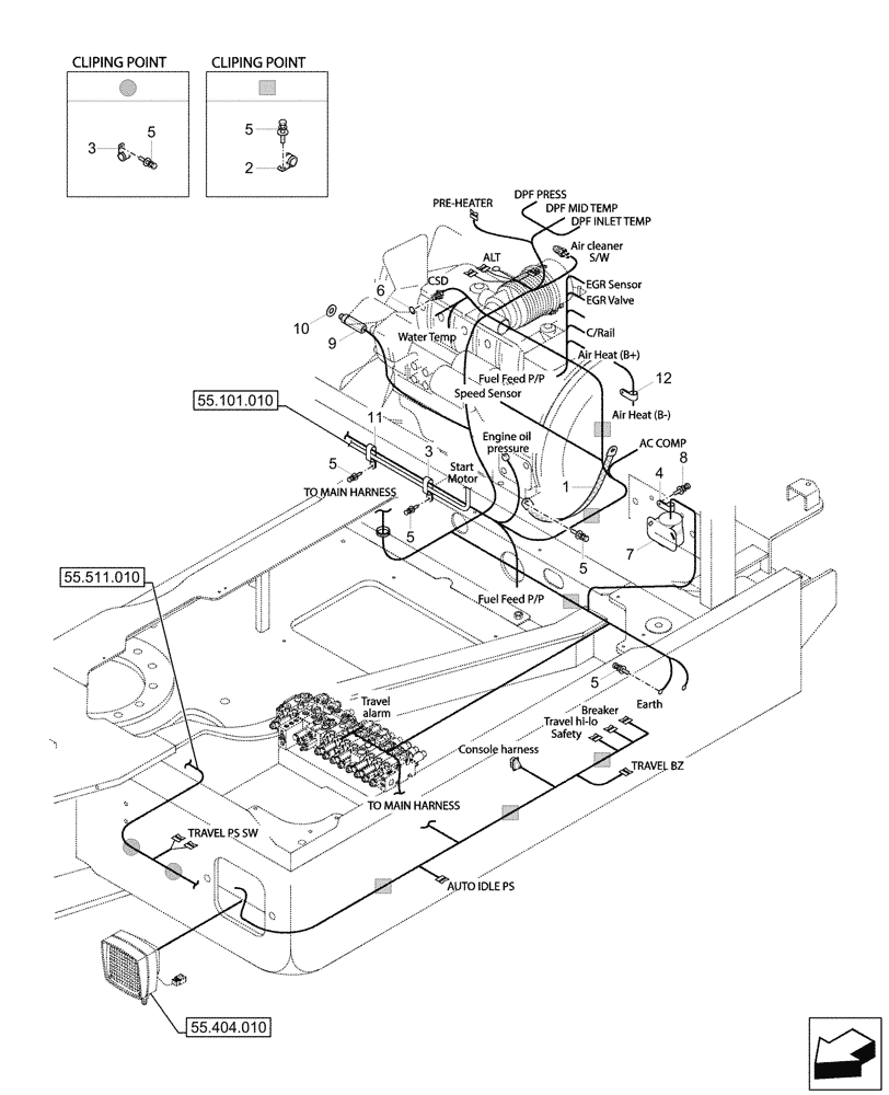
Запчасти Case CX57C (55.101.020) - UPPER, FRAME, MAIN HARNESS (55) - ELECTRICAL SYSTEMS

Схема запчастей Case CX57C - (55.101.020) - UPPER, FRAME, MAIN HARNESS (55) - ELECTRICAL SYSTEMS
10
5
5
5
5
2
4
8
6
3
12
3
5
5
1
9
55.511.010
55.101.010
55.404.010
11
7
FIT
1:1
100%

Артикул

Название

Примечание

Количество

1

21M8-01210

GROUND STRAP

1шт.

2

31L7-10200

CLAMP,25mm ID

6шт.

3

S593-000902

CLIP

3шт.

4

S593-000752

CLIP

1шт.

5

S037-102026

BOLT,M10 x 1.5 x 20mm

11шт.

6

P392-160000

WASHER

1шт.

7

21N4-56800

BUZZER

Back

1шт.

Travel Alarm, Var. 747453

1шт.

8

S035-081526

BOLT,M8 x 1.25 x 15mm

2шт.

9

21M9-31760

ADAPTER

1шт.

10

S411-080006

WASHER

1шт.

11

31L7-10230

CLAMP

1шт.

12

31L7-10210

CLAMP

1шт.

Выбрано товаров: 13