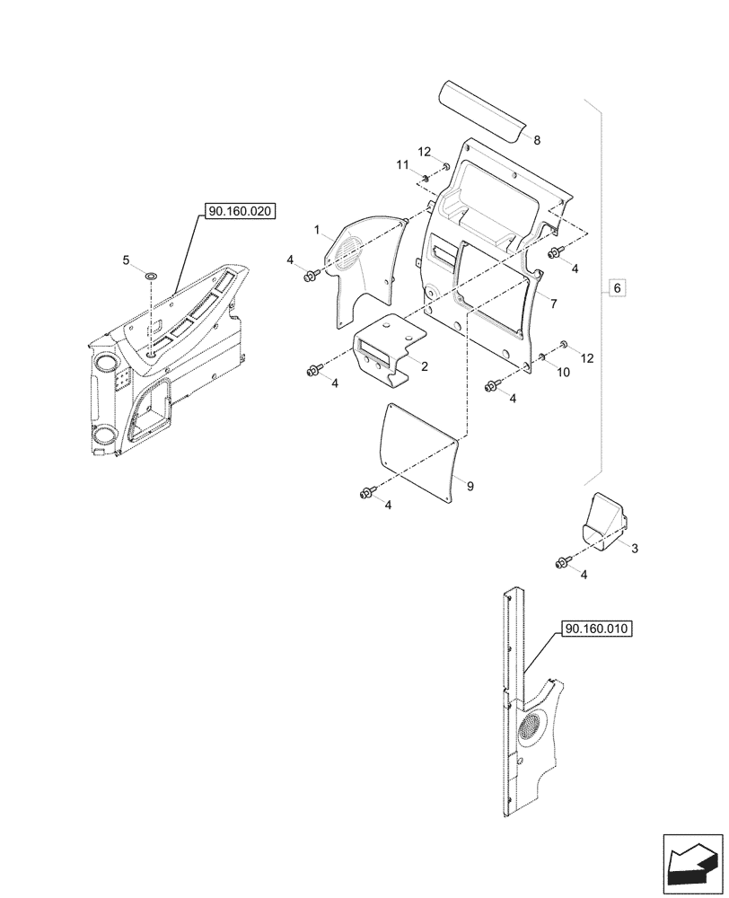
Запчасти Case CX57C (90.160.030) - CAB, REAR COVER (90) - PLATFORM, CAB, BODYWORK AND DECALS

Схема запчастей Case CX57C - (90.160.030) - CAB, REAR COVER (90) - PLATFORM, CAB, BODYWORK AND DECALS
90.160.010
3
7
12
5
1
4
11
2
6
4
9
4
12
10
4
8
4
4
90.160.020
FIT
1:1
100%

Артикул

Название

Примечание

Количество

1

71M9-21071

TRIM

Side, Lower, RH

1шт.

2

71M9-21211

COVER

Radio

1шт.

3

71M9-21170

DUCT

Inlet

1шт.

4

S002-06015B

SCREW

22шт.

5

91M9-20010

DECAL

Start Key

1шт.

6

71M9-25461

TRIM

Rear, ASSY, Incl 4 (Qty 4), 7 - 9

1шт.

7

71M9-21121

TRIM

Rear, Lower

1шт.

8

71M9-21141

COVER

Rear Tray

1шт.

9

71M9-21131

COVER

1шт.

10

S403-06500B

WASHER

4шт.

11

S403-06100B

WASHER

1шт.

12

S205-06100B

NUT,M8 x 1mm

5шт.

Выбрано товаров: 12