Запчасти Case 4120 (12-4) - POWER, CARBURETOR (04) - Drive Train

Схема запчастей Case 4120 - (12-4) - POWER, CARBURETOR (04) - Drive Train
FIT
1:1
100%

Артикул

Название

Примечание

Количество

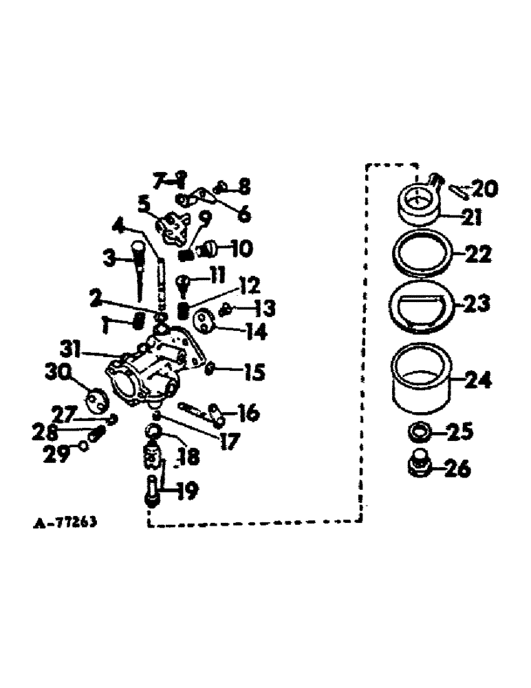
72649C91

CARBURETOR ASSY

1шт.

1

385482R1

SPRING

high speed needle

1шт.

2

SEAL, throttle shaft dust, Furnish complete carburetor assy

1шт.

3

117230C2

NEEDLE BEARING CAGE

SCREW, high speed adj needle, Replaces 61289C1

1шт.

4

SHAFT, throttle

1шт.

5

DOG ASSY, throttle shaft, Furnish complete carburetor assy

1шт.

6

LEVER, throttle, Furnish complete carburetor assy

1шт.

7

SCREW W/WASHER, throttle lever, Furnish complete carburetor assy

1шт.

8

SCREW, 8-32 x 1/2 slt

1шт.

9

385499R1

SPRING

throttle lever

1шт.

10

117220C1

SCREW

throttle adjusting

1шт.

11

532189R1

SCREW, idle adjusting

1шт.

12

385499R1

SPRING

idle adjusting screw

1шт.

13

SCREW, choke and throttle valve, Furnish complete carburetor assy

4шт.

14

VALVE ASSY, throttle, Furnish complete carburetor assy

1шт.

15

PLUG, 3/8 aluminum expansion, Furnish complete carburetor assy

1шт.

16

SHAFT AND LEVER ASSY, choke, Furnish complete carburetor assy

1шт.

17

NOZZLE, high speed needle, Furnish complete carburetor assy

1шт.

18

GASKET, needle seat, Furnish kit 117118C91

1шт.

19

NEEDLE AND SEAT ASSY W/SPRING, Not serviced separately, Under kit 117118C91

1шт.

20

68467R1

PIN

float and lever

1шт.

21

385485R91

FLOAT

AND LEVER ASSY

1шт.

22

385488R1

RING

GASKET, fuel bowl ring

1шт.

23

GASKET, fuel bowl, Furnish repair kit 117118C91

1шт.

24

385505R1

BOWL, fuel

1шт.

25

GASKET, fuel bowl screw, Furnish repair kit 117118C91

1шт.

26

548449R1

SCREW, fuel bowl

1шт.

27

PLUG, idle passage rivet, Furnish complete carburetor assy

1шт.

28

SPRING, choke shaft, Furnish complete carburetor assy

1шт.

29

BALL, choke shaft, Furnish complete carburetor assy

1шт.

30

VALVE ASSY, choke, Furnish complete carburetor assy

1шт.

31

BODY, carburetor, Furnish complete carburetor assy

1шт.

385487R1

GASKET

bowl baffle

1шт.

393571R1

BRACKET, choke

1шт.

117118C91

KIT

carburetor repair, Consists of

1шт.

385487R1

GASKET

1шт.

90594R1

GASKET

1шт.

385488R1

RING

GASKET

1шт.

NEEDLE & SEAT (NSS)

1шт.

68467R1

PIN

1шт.

Выбрано товаров: 40