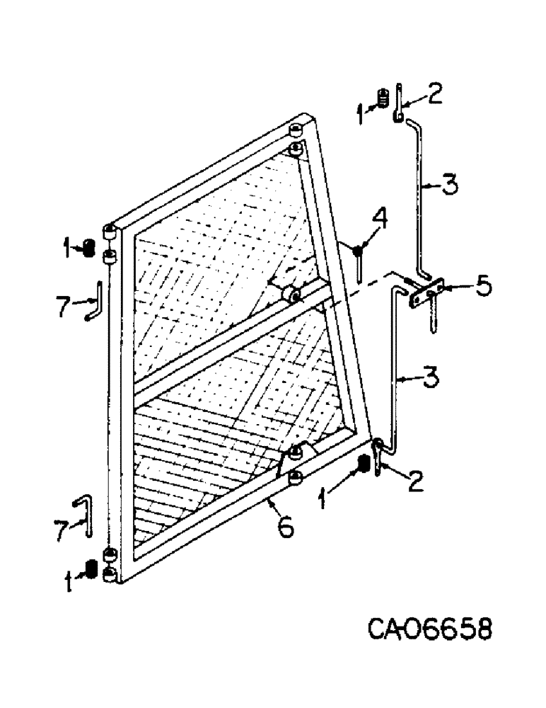
Запчасти Case 4125 (13-3) - SUPERSTRUCTURE, LH DOOR (05) - SUPERSTRUCTURE

Схема запчастей Case 4125 - (13-3) - SUPERSTRUCTURE, LH DOOR (05) - SUPERSTRUCTURE
FIT
1:1
100%

Артикул

Название

Примечание

Количество

1

76472C1

SPRING

4шт.

2

77466C1

PIN, latch

2шт.

19371R1

PIN,1/8" x 3/4", Coiled

2шт.

3

77467C1

ROD, linkage

2шт.

120392

WASHER,1/4", SAE

.281 x .625 x .051

4шт.

77740C1

NUT, cap

4шт.

4

77468C1

HANDLE, outside

1шт.

5

77469C1

HANDLE, inside

1шт.

120377

NUT,3/8" - 16, Gr 5

1шт.

6

77470C1

DOOR ASSY

1шт.

7

77472C1

PIN, hinge

2шт.

19371R1

PIN,1/8" x 3/4", Coiled

2шт.

77449C1

SUPPORT, drawbar attachment

1шт.

180177

BOLT,Hex, 1/2" - 13 x 1 1/2", Gr 5

1/2 x 1-1/2 type 5, drawbar attachment

2шт.

120384

WASHER,1/2"

LOCK, , Drawbar attachment 1/2"

2шт.

120378

NUT,Hex, 1/2" - 13, Gr 5

NUT, , Drawbar attachment 1/2"-13, G5

2шт.

Выбрано товаров: 16