Запчасти Case 4130 (07-3) - DRIVE TRAIN, HYDRAULIC AND HYDROSTATIC CONTROLS, LOADER (04) - Drive Train

Схема запчастей Case 4130 - (07-3) - DRIVE TRAIN, HYDRAULIC AND HYDROSTATIC CONTROLS, LOADER (04) - Drive Train
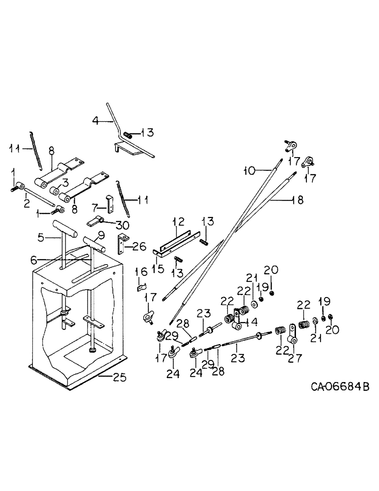
13
7
9
17
11
29
8
22
1
22
18
4
24
8
17
20
5
22
6
14
23
25
30
19
17
26
27
16
3
21
13
22
17
15
13
29
28
24
21
2
1
19
28
11
10
23
12
20
FIT
1:1
100%

Артикул

Название

Примечание

Количество

1

76466C1

PIVOT, lock arm

2шт.

120377

NUT,3/8" - 16, Gr 5

4шт.

2

76467C1

ROD, lock arm pivot

1шт.

103385

COTTER PIN,1/8" x 1"

PIN, SPLIT (COTTER), 1/8" x 1"

2шт.

3

127530H1

SPACER

lock arm

1шт.

4

76468C1

LEVER, control lock

1шт.

5

75026C1

LEVER, hydraulic control, Furnished as part of 76990C91

1шт.

72017C1

CONDUIT, hydraulic lever, handle, Furnished as part of 76990C91

1шт.

6

73251C1

ROD, drive control, lever, Furnished as part of 76990C91

1шт.

72017C1

CONDUIT, drive lever, handle, Furnished as part of 76990C91

1шт.

76911C1

FITTING, bevel, washer, Furnished as part of 76990C91

1шт.

7

72031C1

SUPPORT, choke, lever

1шт.

413-412

BOLT,Hex, 1/4" - 20 x 3/4", Gr 5

1шт.

120392

WASHER,1/4", SAE

.281 x .625 x .051

1шт.

9413950

LOCK NUT,1/4"-20, GB

NUT, 1/4 phc p/t lock type 5

1шт.

8

76471C1

ARM, control lock

2шт.

413-412

BOLT,Hex, 1/4" - 20 x 3/4", Gr 5

1шт.

120375

NUT,Hex, 1/4" - 20, Gr 5

2шт.

9

72210C1

GRIP

handle

4шт.

10

928876C1

ROD, lift

1шт.

120368

NUT,5/16"-24, G5

2шт.

11

72211C1

SPRING

tension

2шт.

12

72023C1

BAR, friction, loose

1шт.

413-432

1/4 x 2 type 5

2шт.

120392

WASHER,1/4", SAE

.281 x .625 x .051

2шт.

120377

NUT,3/8" - 16, Gr 5

2шт.

120375

NUT,Hex, 1/4" - 20, Gr 5

4шт.

13

76472C1

SPRING

compression - short

3шт.

14

NSS

NOT SOLD SEPARAT

REFER TO HYDROSTATIC PUMP ASSY

1шт.

15

72024C1

BAR, friction, mounted

1шт.

413-412

BOLT,Hex, 1/4" - 20 x 3/4", Gr 5

1шт.

120392

WASHER,1/4", SAE

.281 x .625 x .051

1шт.

120375

NUT,Hex, 1/4" - 20, Gr 5

1шт.

16

72032C1

TAB, choke cable retainer

1шт.

9413950

LOCK NUT,1/4"-20, GB

NUT, 1/4 phc p/t lock type 5

1шт.

120392

WASHER,1/4", SAE

.281 x .625 x .051

1шт.

413-412

BOLT,Hex, 1/4" - 20 x 3/4", Gr 5

1шт.

17

72212C1

END ASSY.

END, rod

4шт.

274558

FAN SWITCH

5/16-NF phc p/t lock type 5

4шт.

18

73252C1

ROD, tilt

1шт.

19

120368

NUT,5/16"-24, G5

2шт.

20

232-4615

LOCK NUT,5/16"-24, GC

5/16-NF phc p/t lock

2шт.

21

72365C1

THRUST WASHER

thrust

2шт.

22

138541C1

SET

PACKAGE, spring

1шт.

23

73255C1

ROD

control, Serial Range: 391-913

2шт.

23

77923C1

ROD

control, Start Serial: 914

2шт.

274558

FAN SWITCH

5/16-NF phc p/t lock type 5

4шт.

24

72554C1

END

rod

2шт.

232-4615

LOCK NUT,5/16"-24, GC

5/16-NF phc p/t lock type 5

2шт.

25

76990C91

HOUSING ASSY, control, console

1шт.

120382

LOCK WASHER,Helical Spring, 3/8"

WASHER, LOCK, 3/8"

4шт.

120377

NUT,3/8" - 16, Gr 5

4шт.

120394

WASHER,3/8", SAE

WASHER, .406 x .812 x .051

4шт.

26

72672C1

SUPPORT, neutral start switch

1шт.

598796R1

CARRIAGE BOLT,Sht Sq Nk, 1/4" - 20 x 1", Gr 5

BOLT, 1/4 x 1 crg type 5

2шт.

492-11025

LOCK WASHER,1/4"

WASHER, LOCK, 1/4"

2шт.

120375

NUT,Hex, 1/4" - 20, Gr 5

2шт.

27

NSS

NOT SOLD SEPARAT

REFER TO HYDROSTATIC PUMP ASSY

1шт.

28

77924C1

UNION, adjusting, Start Serial: 914

2шт.

29

77962C1

STUD, Start Serial: 914

2шт.

30

77925C1

ARM, switch activator, Start Serial: 706

1шт.

180124

BOLT,Hex, 3/8" - 16 x 1 1/4", Gr 5

3/8 x 1-1/4 type 5

1шт.

9411655

LOCK NUT,3/8"-16, GB

NUT, 3/8 cad p/t lock type 5

1шт.

120394

WASHER,3/8", SAE

WASHER, .406 x .812 x .051

1шт.

Выбрано товаров: 64