Запчасти Case 4150 (12-07) - POWER, CRANKSHAFT AND PISTONS, MAZDA ENGINE (04) - Drive Train

Схема запчастей Case 4150 - (12-07) - POWER, CRANKSHAFT AND PISTONS, MAZDA ENGINE (04) - Drive Train
FIT
1:1
100%

Артикул

Название

Примечание

Количество

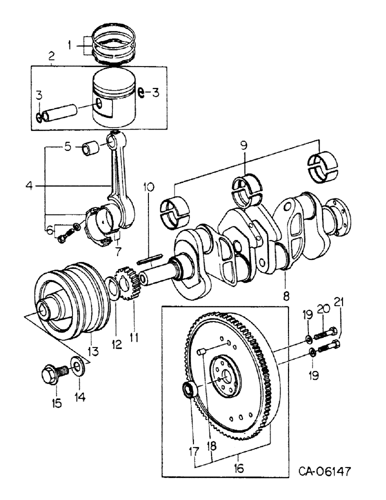
1

76105C1

SET, piston ring, std

1шт.

1

76106C1

SET, piston ring, o/s

1шт.

2

76107C91

SET, piston, Includes ref no 3

4шт.

3

76108C1

CLIP, piston pin

8шт.

4

76109C91

ROD ASSY, connecting, Includes ref nos 5 and 6

4шт.

5

76110C1

BUSHING, connecting rod

4шт.

6

76111C1

BOLT, connecting rod

8шт.

76112C1

WASHER

8шт.

7

76113C1

BEARING, connecting rod, std

8шт.

7

76114C1

BEARING, connecting rod, 25MM U/S

8шт.

7

76115C1

BEARING, connecting rod, 50MM U/S

8шт.

7

76116C1

BEARING, connecting rod, 75MM U/S

8шт.

8

76117C1

CRANKSHAFT

1шт.

9

76118C1

SET, crankshaft bearing, std

1шт.

9

76119C1

SET, crankshaft bearing, 25MM U/S

1шт.

9

76120C1

SET, crankshaft bearing, 50MM U/S

1шт.

9

76121C1

SET, crankshaft beari

1шт.

10

76122C1

KEY, timing gear

1шт.

11

76123C1

SET, timing gear

1шт.

12

76124C1

DEFLECTOR, oil

1шт.

13

76125C1

PULLEY, crankshaft

1шт.

14

76126C1

WASHER, lock

1шт.

15

76127C1

BOLT, drive pulley

1шт.

16

76128C91

FLYWHEEL ASSY, Includes ref nos 17 and 18

1шт.

76129C1

GEAR, ring

1шт.

17

76130C1

BEARING, ball

1шт.

18

76131C1

PIN, dowel

2шт.

19

76132C1

WASHER, plain

8шт.

20

76133C1

BOLT, flywheel

7шт.

21

76134C1

BOLT, flywheel

1шт.

Выбрано товаров: 30