Запчасти Case 4155 (12-08) - POWER, CRANKCASE AND OIL PAN (04) - Drive Train

Схема запчастей Case 4155 - (12-08) - POWER, CRANKCASE AND OIL PAN (04) - Drive Train
FIT
1:1
100%

Артикул

Название

Примечание

Количество

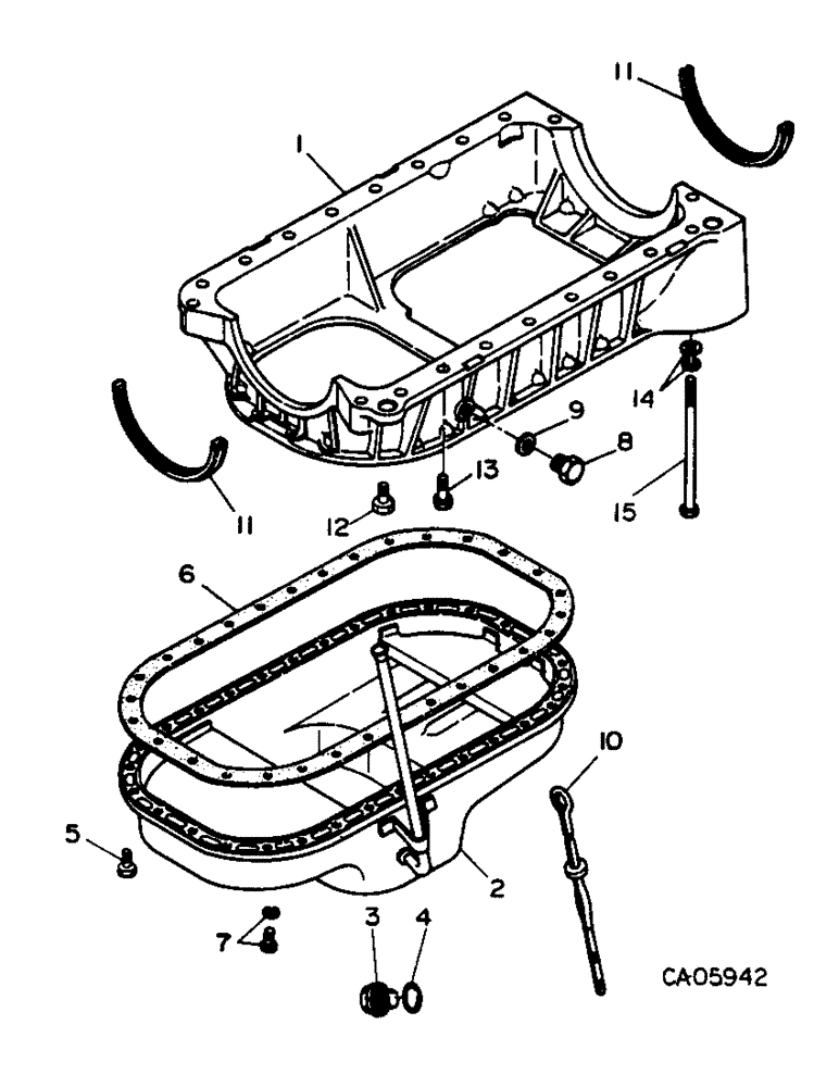
1

74546C1

CRANKCASE

1шт.

2

74547C91

PAN, oil w/drain plug

1шт.

3

74548C1

PLUG, oil drain

1шт.

4

74549C1

GASKET, plug

1шт.

5

74561C1

BOLT, oil pan

2шт.

6

74550C1

GASKET, oil pan

1шт.

7

74551C1

BOLT W/WASHER, oil pan

30шт.

8

74552C1

PLUG, crankcase

1шт.

9

74553C1

GASKET

plug

1шт.

10

74554C1

GAGE, oil level

1шт.

11

74555C1

SEAL, oil pan

2шт.

12

74556C1

BOLT, crankcase

2шт.

13

74557C1

BOLT, crankcase

14шт.

14

74558C1

WASHER, lock

2шт.

74559C1

WASHER, flat

2шт.

15

74560C1

BOLT, crankcase

2шт.

Выбрано товаров: 16