Запчасти Case 410 (08-35) - CONTROL VALVE - SPOOL END GROUP, DETENT (08) - HYDRAULICS

Схема запчастей Case 410 - (08-35) - CONTROL VALVE - SPOOL END GROUP, DETENT (08) - HYDRAULICS
1
8
5
11
7
11
1
10
16
2
10
13
12
6
7
4
16
9
4
3
8
6
15
13
12
9
5
14
1
15
2
3
14
FIT
1:1
100%

Артикул

Название

Примечание

Количество

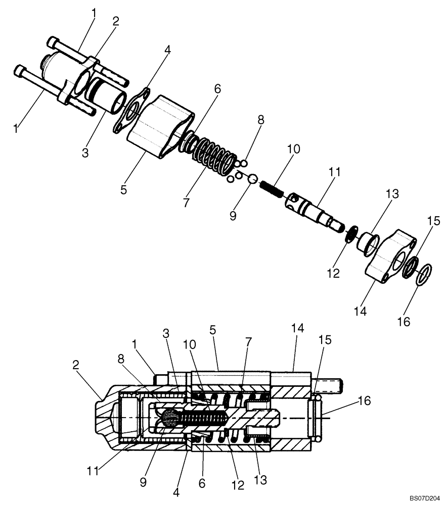
87576163

SPOOL

Spool End Group - Detent; Incl. 1 - 16

1шт.

1

NSS

NOT SOLD SEPARAT

Cap Screw

2шт.

2

NSS

NOT SOLD SEPARAT

Spool Cap

1шт.

3

NSS

NOT SOLD SEPARAT

Sleeve - Detent

1шт.

4

NSS

NOT SOLD SEPARAT

Seal Plate

1шт.

5

NSS

NOT SOLD SEPARAT

Spacer

1шт.

6

NSS

NOT SOLD SEPARAT

Spring Seat

1шт.

7

NSS

NOT SOLD SEPARAT

Spring

1шт.

8

NSS

NOT SOLD SEPARAT

Ball

4шт.

9

NSS

NOT SOLD SEPARAT

Ball

1шт.

10

NSS

NOT SOLD SEPARAT

Spring

1шт.

11

NSS

NOT SOLD SEPARAT

Spool End, Detent Pin

1шт.

12

NSS

NOT SOLD SEPARAT

Washer

1шт.

13

NSS

NOT SOLD SEPARAT

Spring Seat

1шт.

14

NSS

NOT SOLD SEPARAT

Plate Seal

1шт.

15

NSS

NOT SOLD SEPARAT

Wiper

1шт.

16

NSS

NOT SOLD SEPARAT

O-Ring

1шт.

Выбрано товаров: 17