Запчасти Case 410 (03-02) - CONTROLS - THROTTLE (03) - FUEL SYSTEM

Схема запчастей Case 410 - (03-02) - CONTROLS - THROTTLE (03) - FUEL SYSTEM
4
3
10
11
1
21
23
20
28
12
8
22
19
26
10
1
6
25
27
24
25
2
9
15
16
7
11
17
5
10
14
29
13
22
FIT
1:1
100%

Артикул

Название

Примечание

Количество

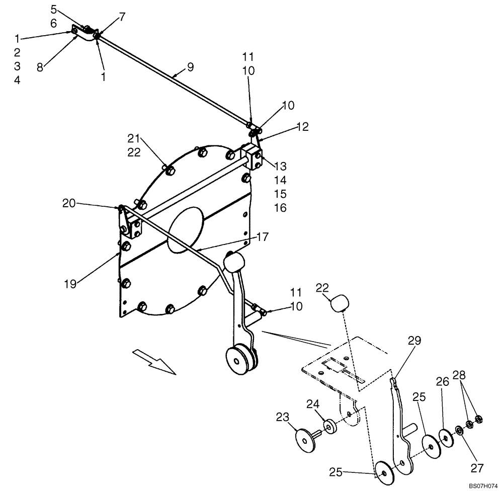
1

80707

WASHER,0.25" ID x 0.56" OD x 0.05" Thk

2шт.

2

13734

SPACER,6.52mm ID x 9.52mm OD x 3.43mm W

1шт.

3

88826

LOCK NUT,#10-24, GA

1шт.

4

86511920

SCREW,Phillips Drive, Pan HD, #10 - 24 x 1/2"

1шт.

5

11104

SPRING

1шт.

6

9860169

RIVET,10-32 Thread, 19.6mm Shoulder

1шт.

7

87825

NUT,#10-32

1шт.

8

9844532

BRACKET

1шт.

9

87460722

ROD

Throttle Rod, 505mm (19 7/8 in.)

1шт.

10

86509309

NUT,1/4"-28, G5

3шт.

11

H169920

BALL JOINT

2шт.

12

87435735

CRANK

1шт.

13

86977790

BOLT,Hex, M6 x 45mm, Cl 8.8

4шт.

14

87435732

CLAMP

Single Tube Clamp

2шт.

15

87435739

BAR

Top Bar Clamp

2шт.

16

87030561

NUT,M6 x 1, Cl 8

4шт.

17

87435736

ROD

Throttle Rod, 478mm (18 7/8 in.)

1шт.

19

87461758

COVER

Flywheel Cover

2шт.

20

D131983

COTTER PIN,1.04mm OD x 21.4mm L, Ring

Cotter Ring

1шт.

21

88434

BOLT,Hex, 3/8" - 16 x 3/4", Gr 5

11шт.

22

87016

WASHER,0.41" ID x 0.81" OD x 0.07" Thk

11шт.

23

291244A1

LEVER

Throttle Pivot

1шт.

24

257973A1

SEALING WASHER,12.5mm ID x 36mm OD x 10mm Thk

Rubber Washer

1шт.

25

1342374C1

DISC

Friction Disc

2шт.

26

257971A1

WASHER,13.1mm ID x 48mm OD x 3.05mm Thk

Slotted Washer

1шт.

27

86625255

WASHER,13.3mm ID x 24.5mm OD x 3mm Thk

1шт.

28

323238

THIN NUT,Hex, M12, 1.75mm Pitch, Cl 05

2шт.

29

87573756

LEVER

Hand Throttle Lever

1шт.

Выбрано товаров: 0