Запчасти Case 420 (09-16A) - HOOD - EUROPE, IF USED (09) - CHASSIS

Схема запчастей Case 420 - (09-16A) - HOOD - EUROPE, IF USED (09) - CHASSIS
18
2
14
15
20
4
16
6
11
9
19
7
20
7
21
12
5
13
1
10
3
10
8
17
FIT
1:1
100%

Артикул

Название

Примечание

Количество

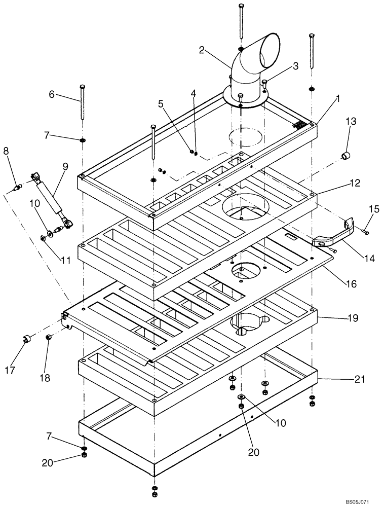
1

87357944

Frame, Top

1шт.

2

304811A1

EXTENSION,88.9 mm ID, 139.7 mm OD, 287.2 mm Length

Exhaust Extension

1шт.

2

87381264

TUBE,88.9 mm OD x 268, 63.5 mm L

Exhaust Extension; 268 mm (10.55 in) Tall; Replaces 304811A1; If Used

1шт.

2

87725355

EXHAUST SYSTEM PIPE

Exhaust Extension; 243 mm (9.57 in) Tall; If Used

1шт.

3

120104

BOLT,Hex, M8 x 1.25 x 20mm, Cl 8.8

3шт.

4

86625264

LOCK WASHER,Ext Tooth, M5

2шт.

5

86639241

NUT,Prev Torque, M5 x 0.8, Cl 8

2шт.

6

86528166

BOLT,M8 x 1.25 x 126.58mm, Cl 8.8

4шт.

7

86624184

WASHER,9mm ID x 16mm OD x 1.6mm Thk

8шт.

8

189609A1

BALL STUD,M8 x 1.25

M8 x 1.25

2шт.

9

400472A1

SPRING,10mm Rod, 38.1mm Stroke

Hood Assist

1шт.

10

87015284

WASHER,8.8mm ID x 21.5mm OD x 2.5mm Thk

4шт.

11

229197A1

SQUARE NUT,M8 x 1.25, Cl 8

M8 -1.25

1шт.

12

87338773

PAD

Silencer, Fiberglass

1шт.

13

435396A1

SPACER

Hood

1шт.

14

406256A1

HANDLE

Rear Hood

1шт.

15

86511827

SCREW,Phillips Drive, Pan HD, M5 x 20mm, Cl 4.8

2шт.

16

87358515

Frame, Rear Hood

1шт.

17

87429698

SPACER

1шт.

18

412250

NUT,M8 x 1.25, Cl 8

1шт.

19

87338772

PAD

Silencer, Fiberglass

1шт.

20

9628098

NUT,M8 x 1.25, Cl 10

7шт.

21

87357021

Frame, Bottom

1шт.

Выбрано товаров: 23