Запчасти Case 430 (06-07) - HYDROSTATICS - MULTI VALVE (430 WITH PILOT CONTROL) (06) - POWER TRAIN

Схема запчастей Case 430 - (06-07) - HYDROSTATICS - MULTI VALVE (430 WITH PILOT CONTROL) (06) - POWER TRAIN
3
14
3
3
4
19
4
6
12
5
8
2
17
18
10
4
9
11
9
9
14
7
20
8
9
8
8
4
9
15
3
16
21
1
9
13
FIT
1:1
100%

Артикул

Название

Примечание

Количество

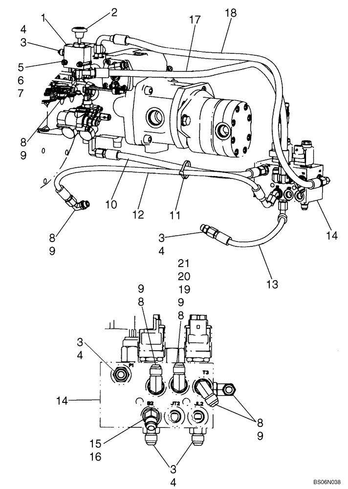
1

87604076

VALVE, EXHAUST, OVER

Boom Overide

1if Uшт.

2

87568435

DECAL

Boom Override

1шт.

3

76350

HYD CONNECTOR,9/16" - 18 ORB x 9/16" - 18 JIC

Incl 4

6шт.

4

9617873

O-RING,0.078" Thk x 0.468" ID, -906, Cl 6, 90 Duro

6шт.

5

86588450

WASHER,6.6mm ID x 12mm OD x 1.6mm Thk

7шт.

6

86512440

NUT,M6, Cl 10

2шт.

7

120056

BOLT,M6 x 1.0 x 54.15mm, Cl 8.8

2шт.

8

76344

90 ELBOW,9/16" - 18 JIC x 9/16" - 18 ORB

Incl. 9

5-6шт.

9

9617873

O-RING,0.078" Thk x 0.468" ID, -906, Cl 6, 90 Duro

5-6шт.

10

87026844

HOSE ASSY.

Hose, 551mm (21 11/16 in.)

1шт.

11

L11541

CABLE TIE,203.2mm L, Nylon

CABLE STRAP

1шт.

12

87563975

HOSE,6.35mm ID x 800mm L

Hose, Left Hand Brake; 800 mm, 31.50 in. Length

1шт.

13

87563977

HOSE,6.35mm ID x 371mm L

Right Hand Brake; 371 mm, 14.61 in. Length

1шт.

14

87546971

HYDRAULIC VALVE

See Fig. 06-08

1шт.

15

330346

45 ELBOW,45 Degree, 9/16"-18, 37 Degree x 9/16"-18, O-Ring

Incl. 16

1-2шт.

16

9617873

O-RING,0.078" Thk x 0.468" ID, -906, Cl 6, 90 Duro

1-2шт.

17

87563992

HOSE

Dump Valve Drain; 820 mm (32.28in); If Used

1шт.

17

87707137

HOSE,9.53mm ID x 620mm L

Dump Valve Drain; 620 mm (24.41in)

1шт.

18

87583075

HOSE

DA Pressure; 950mm (37 13/32 in.)

1шт.

19

87573371

ADAPTER

Fitting 3/8M X 3/8F SAE ORB Standoff; Incl 20-21

1шт.

20

9617873

O-RING,0.078" Thk x 0.468" ID, -906, Cl 6, 90 Duro

1шт.

21

9993141

O-RING,0.07" Thk x 0.364" ID, -12, Cl 6, 90 Duro

1шт.

Выбрано товаров: 22