Запчасти Case 430 (08-11A) - HYDRAULICS - COUPLER SYSTEM (08) - HYDRAULICS

Схема запчастей Case 430 - (08-11A) - HYDRAULICS - COUPLER SYSTEM (08) - HYDRAULICS
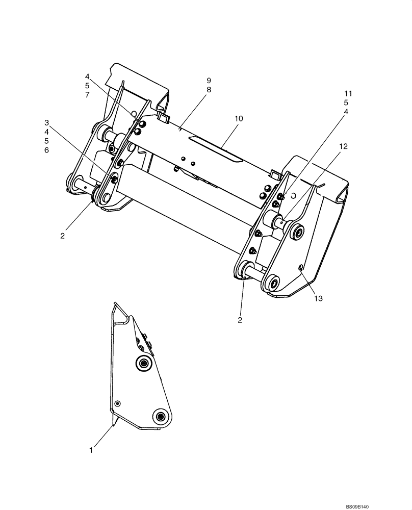
13
12
9
7
3
4
2
5
5
4
2
10
1
8
11
4
6
5
FIT
1:1
100%

Артикул

Название

Примечание

Количество

1

87413030

PIN

Latch Pin; If Used

2шт.

1

87758365

PIN,31.75mm OD x 142.3mm L

Latch Pin

2шт.

2

86512837

WASHER,1.38" ID x 2.5" OD x 0.17" Thk

2шт.

3

906091R1

SPACER,10.7mm ID x 17.14mm OD x 9.5mm L

3/8 x Pipe .375in

4шт.

4

86625253

WASHER,11mm ID x 24mm OD x 2mm Thk

24шт.

5

86512554

NUT,M10 x 1.5, Cl 10

12шт.

6

120112

BOLT,Hex, M10 x 1.5 x 40mm, Cl 8.8, Full Thd

4шт.

7

43139

BOLT,M10 x 1.5 x 25mm, Cl 8.8

4шт.

8

87620412

PLATE

Cover Plate Hyd Coupler, Tan

1шт.

9

409783A1

BRACKET

Coupler Cover

2шт.

10

D55216

PAD,2" x 9"

Pad

1шт.

11

9706704

BOLT,Hex, M10 x 1.5 x 41.58mm, Cl 8.8

4шт.

12

87659406

PIN,31.75mm OD x 169.2mm L

Coupler Pin

4шт.

13

87414

LUBE NIPPLE,1/4" - 28

2шт.

14

284152A1

DECAL

Wedge Engamnt Ind; See Fig 09-64

2шт.

Выбрано товаров: 15