Запчасти Case 430 (08-12) - HYDRAULICS - COUPLER SYSTEM (ITALIAN) (08) - HYDRAULICS

Схема запчастей Case 430 - (08-12) - HYDRAULICS - COUPLER SYSTEM (ITALIAN) (08) - HYDRAULICS
42
40
4
3
31
12
30
28
25
35
48
10
43
21
33
37
22
6
26
9
20
19
5
38
16
34
17
7
18
49
7
13
11
32
41
8
45
6
44
14
23
46
1
27
39
36
29
15
2
24
7
21
14
7
6
47
6
FIT
1:1
100%

Артикул

Название

Примечание

Количество

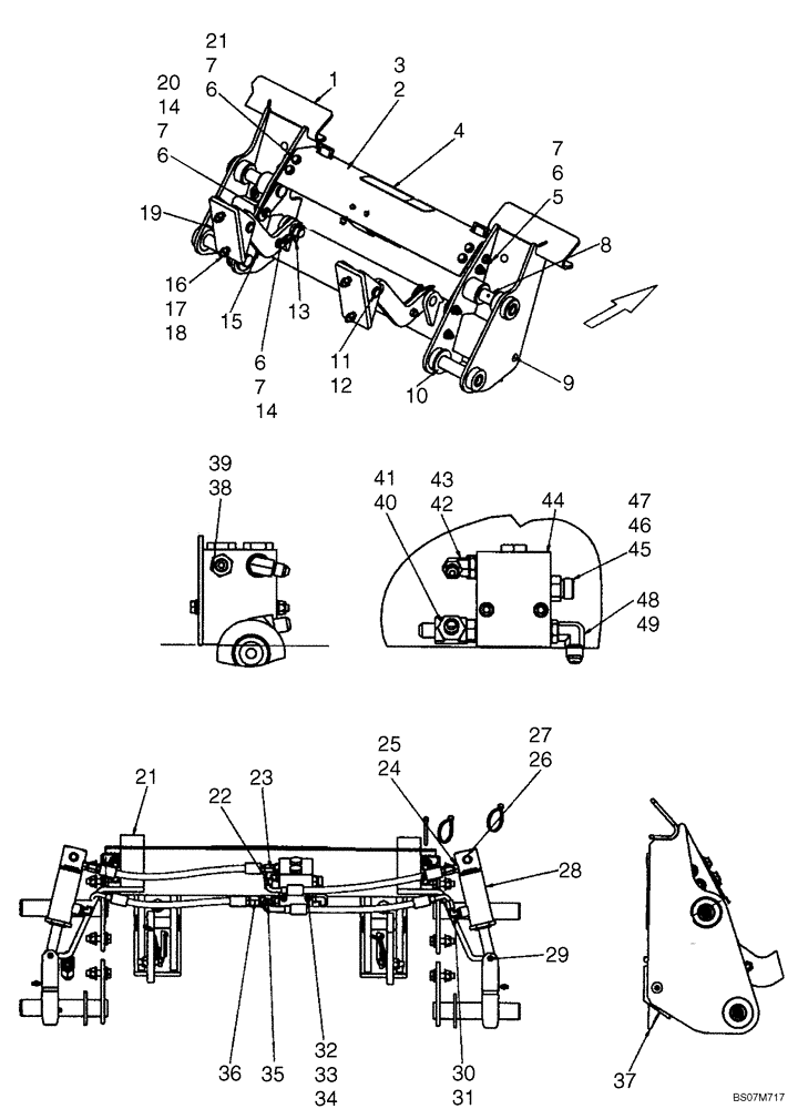
1

417779A3

FRAME ASSY

Coupler Frame, Italian

1шт.

2

87620412

PLATE

Cover

1шт.

3

409783A1

BRACKET

2шт.

4

D55216

PAD,2" x 9"

1шт.

5

9706704

BOLT,Hex, M10 x 1.5 x 41.58mm, Cl 8.8

4шт.

6

86512554

NUT,M10 x 1.5, Cl 10

14шт.

7

86625253

WASHER,11mm ID x 24mm OD x 2mm Thk

26шт.

8

87659406

PIN,31.75mm OD x 169.2mm L

4шт.

9

87414

LUBE NIPPLE,1/4" - 28

2шт.

10

86512837

WASHER,1.38" ID x 2.5" OD x 0.17" Thk

2шт.

11

D138889

PIN,69.98mm OD x 160mm L

2шт.

12

86625151

RETAINER

Retaining Ring, External #87

4шт.

13

A30338

PIN

Klik Pin

2шт.

14

120112

BOLT,Hex, M10 x 1.5 x 40mm, Cl 8.8, Full Thd

6шт.

15

398194A1

LINK

Bucket Lock; If Used

2шт.

15

84141396

LINK

Red Bucket Lock; If Used

2шт.

16

120080

BOLT,Hex, M12 x 45, 8.8

Hex Head, M12 X 45 Cl 8.8

4шт.

17

86625255

WASHER,13.3mm ID x 24.5mm OD x 3mm Thk

4шт.

18

412672

NUT,Hex, M12 x 1.75, Cl 10

4шт.

19

398196A1

BRACKET

2шт.

20

906091R1

SPACER,10.7mm ID x 17.14mm OD x 9.5mm L

4шт.

21

43139

BOLT,M10 x 1.5 x 25mm, Cl 8.8

4шт.

22

87440569

HOSE ASSY.

Hose, Base End LH, 365mm (14 3/8 in.)

1шт.

23

87440566

HOSE ASSY.

Hose, Base End RH, 372mm (14 21/32 in.)

1шт.

24

265235

HYD CONNECTOR,7/16" - 20 ORB x 7/16" - 20 JIC

Incl 25

2шт.

25

165202

O-RING,0.072" Thk x 0.351" ID, -904, Cl 6, 90 Duro

2шт.

26

87387540

PIN,12.7mm OD x 67.55mm L

2шт.

27

87612753

RETAINER,#50, 0.46", Ext

Retaining Ring, External #50

2шт.

28

87442337

CYLINDER,Double Acting, 19.05mm Rod, 48mm Stroke

2шт.

29

87610718

PIN,9.53mm OD x 57.15mm L

2шт.

30

216773

90 ELBOW,90 Degree, 7/16"-20, 37 Degree x 7/16"-20, O-Ring

Incl 31

2шт.

31

165202

O-RING,0.072" Thk x 0.351" ID, -904, Cl 6, 90 Duro

2шт.

32

86508570

BOLT,Hex, M6 x 80mm OAL, Cl 8.8

2шт.

33

86512440

NUT,M6, Cl 10

4шт.

34

86588450

WASHER,6.6mm ID x 12mm OD x 1.6mm Thk

8шт.

35

87440570

HOSE ASSY.

Hose, Rod End LH, 363mm (14 9/32 in.)

1шт.

36

87440568

HOSE ASSY.

Hose, Rode End RH, 337mm (13 1/4 in.)

1шт.

37

87413030

PIN

Latch Pin; If Used

2шт.

37

87758365

PIN,31.75mm OD x 142.3mm L

Latch Pin

2шт.

38

139398

HYD CONNECTOR,9/16" - 18 ORB x 7/16" - 20 JIC

Incl 39

1шт.

39

9617873

O-RING,0.078" Thk x 0.468" ID, -906, Cl 6, 90 Duro

1шт.

40

86513020

TEE,9/16" - 18 ORB x 9/16" - 18 JIC x 9/16" - 18 JIC

Incl 41

1шт.

41

9617873

O-RING,0.078" Thk x 0.468" ID, -906, Cl 6, 90 Duro

1шт.

42

86512934

90 ELBOW,90 Degree, 7/16"-20, 37 Degree x 9/16"-18, O-Ring

Incl 43

1шт.

43

9617873

O-RING,0.078" Thk x 0.468" ID, -906, Cl 6, 90 Duro

1шт.

44

294741A1

CHECK VALVE

1шт.

45

9993143

HYD CONNECTOR,11/16" - 16 ORFS x 9/16" - 18 ORB

Incl 46,47

1шт.

46

9617873

O-RING,0.078" Thk x 0.468" ID, -906, Cl 6, 90 Duro

1шт.

47

9993141

O-RING,0.07" Thk x 0.364" ID, -12, Cl 6, 90 Duro

1шт.

48

76344

90 ELBOW,9/16" - 18 JIC x 9/16" - 18 ORB

Incl. 49

2шт.

49

9617873

O-RING,0.078" Thk x 0.468" ID, -906, Cl 6, 90 Duro

2шт.

Выбрано товаров: 51