Запчасти Case 430 (09-14) - CHASSIS (09) - CHASSIS

Схема запчастей Case 430 - (09-14) - CHASSIS (09) - CHASSIS
16
15
9
4
5
13
6
20
14
18
7
1
22
21
2
19
17
8
11
3
12
10
FIT
1:1
100%

Артикул

Название

Примечание

Количество

1

REF

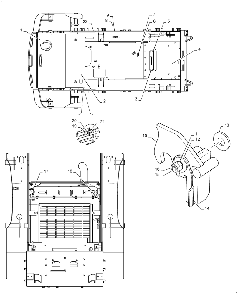
INSTRUCTION

Rear Hood; See Fig. 09-20

1шт.

1

REF

INSTRUCTION

Rear Hood, Air Conditioning; See Fig 09-21

1шт.

2

87661301

INSULATING PANEL

Panel, Heat Shield Extension

1шт.

2

87743317

HEAT SHIELD

Panel, Heat Shield Extension, Gray

1шт.

3

87430679

PLATE

Cover Plate

1шт.

4

87705430

FLOOR MAT

Floor Plate - Tan

1шт.

5

86545825

SELF-TAP SCREW,Hex Wash Hd, 5/16" x 5/8"

4шт.

6

86508569

BOLT,Hex, M6 x 70mm, Cl 8.8

2шт.

7

87022737

SPACER,11.1mm ID x 15.9mm OD x 25mm L

2шт.

8

87030508

BOLT,Hvy Hex, M12 x 30mm, Full Thd, Cl 10.9

12шт.

9

87411208

COVER PLATE

2шт.

10

390516A3

LATCH

ROPS Latch Plate

1шт.

11

278332A1

SPRING WASHER

1шт.

12

294967A1

WASHER

1шт.

13

87381

WASHER,0.81" ID x 1.47" OD x 0.13" Thk

1шт.

14

294911A2

HOOK

Latch Return Plate

1шт.

15

86500689

NUT,M10 x 1.5, Cl 10

2шт.

16

294943A1

STUD

Latch Mounting Stud

1шт.

17

H436887

CAP

Fuel Cap, Non Locking

1шт.

17

108925A1

FILLER CAP

Fuel Cap, Locking; Incl 2 Keys

1шт.

18

257448A1

CAP

Hydraulic Fill Cap

1шт.

19

43128

BOLT,M8 x 1.25 x 30mm, Cl 8.8

2шт.

20

140016

WASHER,M8 x 16mm OD x 1.6mm Thk

4шт.

21

43362

NUT,M8 x 1.25, Cl 10

2шт.

22

86991034

PLUG

Axle Access

4шт.

Выбрано товаров: 25