Запчасти Case 430 (09-18A) - BOOM LOCK; IF USED (09) - CHASSIS

Схема запчастей Case 430 - (09-18A) - BOOM LOCK; IF USED (09) - CHASSIS
8
3
2
4
10
9
7
1
5
6
11
FIT
1:1
100%

Артикул

Название

Примечание

Количество

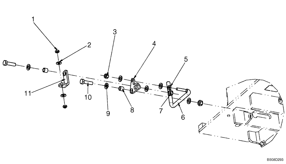
1

87825

NUT,#10-32

2шт.

2

322357

BELLEVILLE WASHER,M6 Bolt Size x 14mm OD x 1.3mm Thk

2шт.

3

280129

NUT,1/4"-20

1шт.

4

87713776

Bracket, Boom Lock Release

1шт.

5

86976064

JAM NUT,Jam, 1/4"-28, G5

1шт.

6

87713774

Rod, Boom Lock Release

1шт.

7

86629542

NUT,M8 x 1.25, Cl 8.8

2шт.

8

87714964

Spacer, Boom Lock

2шт.

9

86511315

WASHER,8.4mm ID x 16mm OD x 1.8mm Thk

6шт.

10

43128

BOLT,M8 x 1.25 x 30mm, Cl 8.8

2шт.

11

87713779

Bracket, Boom Lock Release

1шт.

Выбрано товаров: 11