Запчасти Case 430 (09-20[01]) - HOOD (BSN 415565) (09) - CHASSIS

Схема запчастей Case 430 - (09-20[01]) - HOOD (BSN 415565) (09) - CHASSIS
10
9
15
11
2
14
5
4
7
8
13
1
3
9
6
8
12
FIT
1:1
100%

Артикул

Название

Примечание

Количество

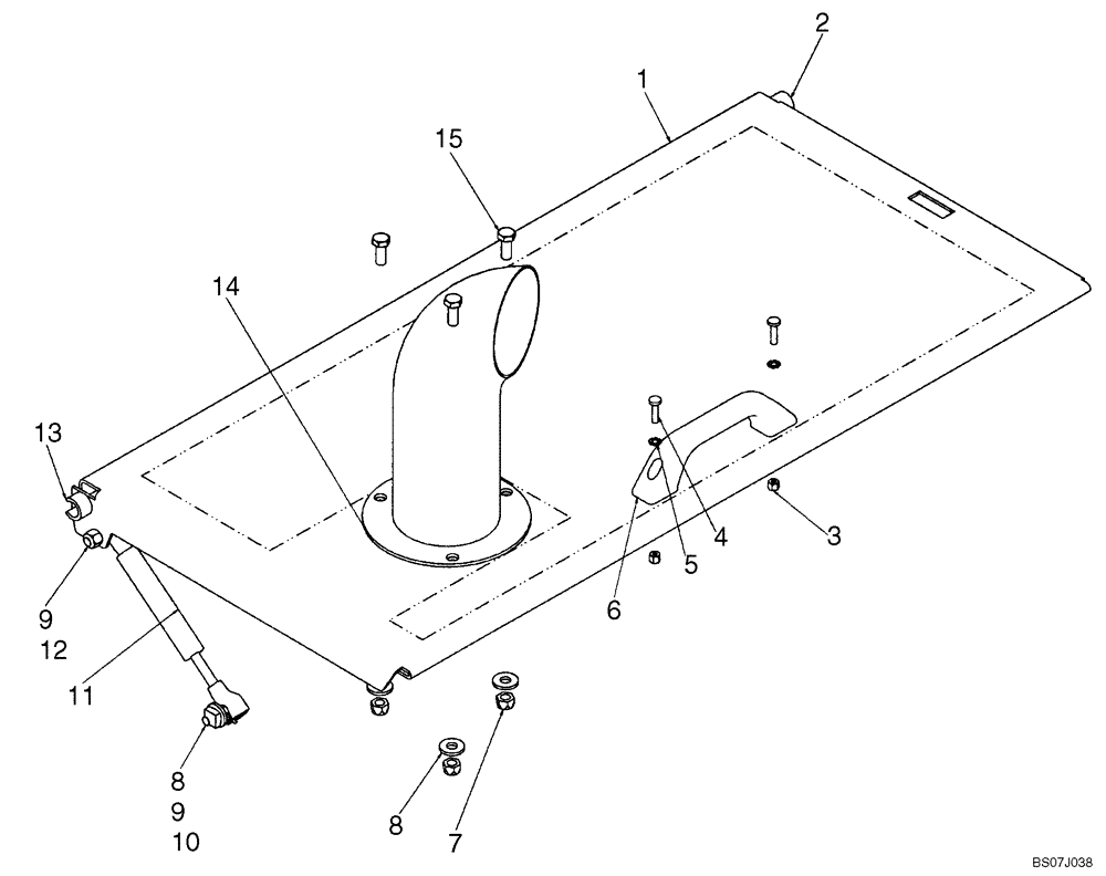
1

87707134

FRAME

Frame, Rear Hood

1шт.

2

435396A1

SPACER

1шт.

3

86639241

NUT,Prev Torque, M5 x 0.8, Cl 8

2шт.

4

86511827

SCREW,Phillips Drive, Pan HD, M5 x 20mm, Cl 4.8

2шт.

5

86625264

LOCK WASHER,Ext Tooth, M5

2шт.

6

406256A1

HANDLE

1шт.

7

9628098

NUT,M8 x 1.25, Cl 10

3шт.

8

87015284

WASHER,8.8mm ID x 21.5mm OD x 2.5mm Thk

4шт.

9

189609A1

BALL STUD,M8 x 1.25

2шт.

10

229197A1

SQUARE NUT,M8 x 1.25, Cl 8

1шт.

11

400473A1

CYLINDER ASSY.,186.84mm L, Extended, 148.74mm L, Compressed

1шт.

12

412250

NUT,M8 x 1.25, Cl 8

1шт.

13

87429698

SPACER

1шт.

14

87381264

TUBE,88.9 mm OD x 268, 63.5 mm L

Exhaust Extension; 268 mm (10.55 in) Tall; If Used

1шт.

14

87725355

EXHAUST SYSTEM PIPE

Exhaust Extension; 243 mm (9.57 in) Tall; If Used

1шт.

15

120104

BOLT,Hex, M8 x 1.25 x 20mm, Cl 8.8

3шт.

Выбрано товаров: 16