Запчасти Case 430 (09-32A) - DEMOLITION DOOR SUB (09) - CHASSIS

Схема запчастей Case 430 - (09-32A) - DEMOLITION DOOR SUB (09) - CHASSIS
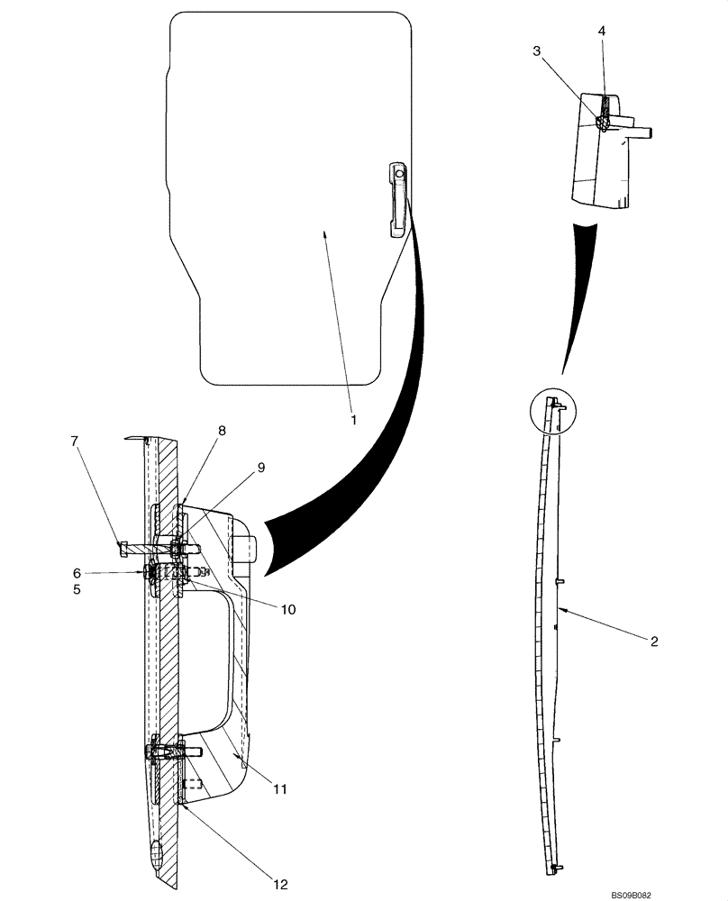
8
4
5
9
12
7
6
11
10
3
2
1
FIT
1:1
100%

Артикул

Название

Примечание

Количество

1

NSS

NOT SOLD SEPARAT

Polycarbonate Door

1шт.

2

NSS

NOT SOLD SEPARAT

Frame W/ Sub Assy

1шт.

3

87660180

ADHESIVE

Window Adhesive

1шт.

4

87600221

SPACER

Glue

8шт.

5

86639315

WASHER,6.6mm ID x 18mm OD x 1.6mm Thk

6.6 x 18 x 1.6mm

3шт.

6

87698769

BOLT,Hex, M6 x 35mm, Cl 8.8

Hex M6 x 35 Full 8.8 BZN

3шт.

7

87404

BOLT,Hex, 1/4" - 20 x 2", Gr 5

1шт.

8

87723771

SEAL

Upper Handle Mounting

2шт.

9

1369

NUT,1/4"-20, G5

1шт.

10

87642540

SPACER,6.5mm ID x 9.5mm OD x 13mm L

Wiper Motor

3шт.

11

60-7083T1

HANDLE

Cab Door Handle

1шт.

12

87723784

SEAL

Lower Handle Mounting

2шт.

Выбрано товаров: 12