Запчасти Case 430 (09-11) - CHASSIS (09) - CHASSIS

Схема запчастей Case 430 - (09-11) - CHASSIS (09) - CHASSIS
13
8
11
4
1
9
12
2
10
6
14
5
10
5
5
5
4
16
7
10
6
15
3
6
1a
6
FIT
1:1
100%

Артикул

Название

Примечание

Количество

87452373

SERVICE KIT

Chassis Kit; Incl. Chassis Frame, Fuel/Hydraulic Fill Caps, Fuel Sender/Gasket; Ref 1, 10, 20, 21 on Figure 09-10; Ref 1, 9, 11 on Figure 09-11; Ref 4 - 6 on Figure 04-06

1шт.

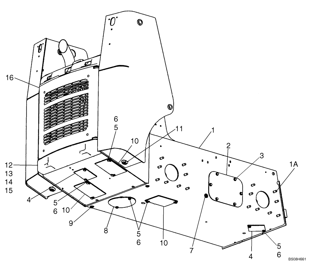
1

87402603

FRAME

Chassis Frame

1шт.

1a

254799A1

STUD

M16x45; Studs For Axle Mounting

32шт.

2

87411208

COVER PLATE

Chain Tank

2шт.

3

87030508

BOLT,Hvy Hex, M12 x 30mm, Full Thd, Cl 10.9

12шт.

4

H436914

LARGE PLATE

PLATE, LARGE

2шт.

5

9824642

BOLT,M12 x 1.75 x 42.68mm, Cl 10.9

12шт.

6

86625255

WASHER,13.3mm ID x 24.5mm OD x 3mm Thk

14шт.

7

217-466

DRAIN PLUG,Sq Soc, 1/2" - 14, NTPF

2шт.

8

365817A1

COVER

1шт.

9

236622

PLUG,3/8" - 18 NPT

3/8

2шт.

10

87458642

PLATE

Plumbing Access Cover

3шт.

11

87432221

PLUG

1, Magnetic

2шт.

12

87453961

BUMPER

Counterweight

1шт.

13

87445534

BOLT

M20 x 70

2шт.

14

86625260

WASHER,21.8mm ID x 37.5mm OD x 4mm Thk

2шт.

13

412641

BOLT,Hex, M20 x 2.5 x 70mm, Cl 10.9

Replaces 87445534

2шт.

15

86536985

NUT,M20 x 2.5, Cl 10

2шт.

16

NSS

NOT SOLD SEPARAT

Door Assy; See Figure 09-17

1шт.

Выбрано товаров: 19