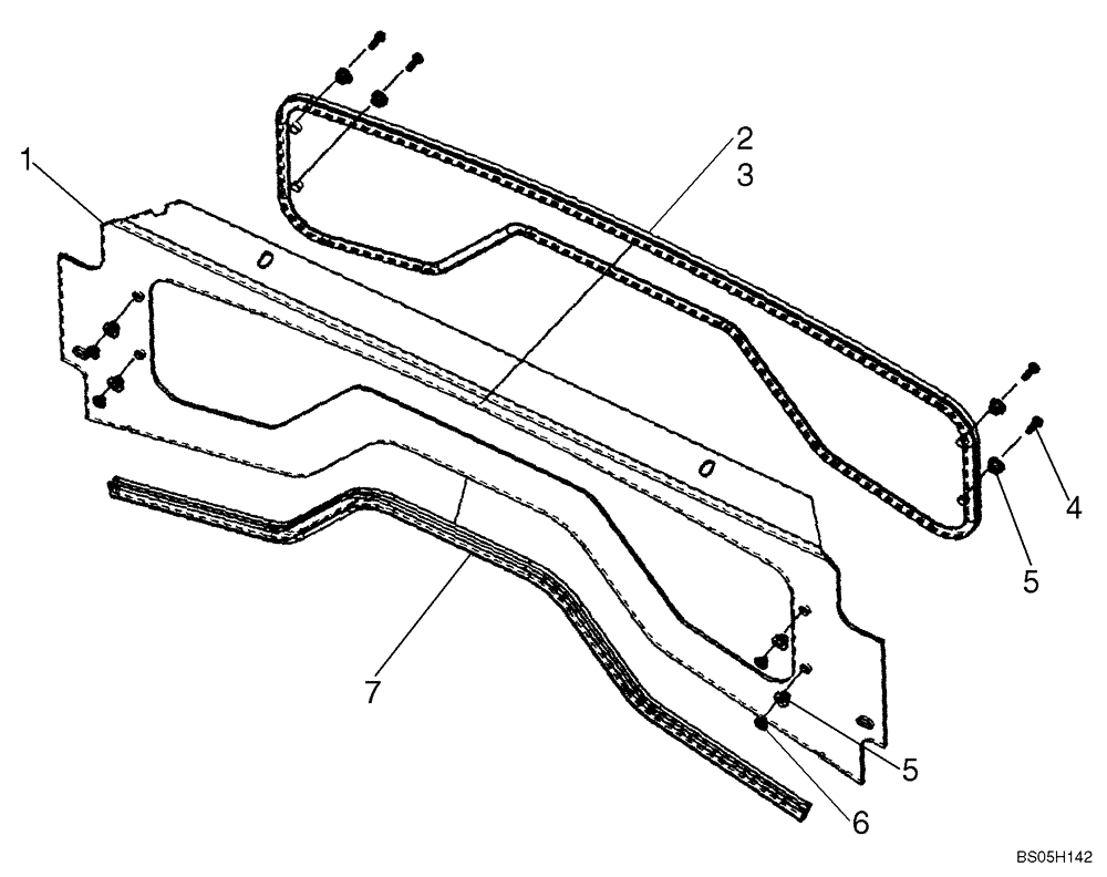
Запчасти Case 430 (09-25C) - CAB DOOR - UPPER PANEL (09) - CHASSIS

Схема запчастей Case 430 - (09-25C) - CAB DOOR - UPPER PANEL (09) - CHASSIS
5
2
6
3
1
4
7
5
FIT
1:1
100%

Артикул

Название

Примечание

Количество

87459546

PANEL

Incl. 1- 7

1шт.

1

87459544

PANEL

1шт.

2

87459543

GLASS

1шт.

3

87459547

SEAL, GLASS

Seal

1шт.

4

86634390

SCREW,Pan, #8 - 32 x 1/2"

4шт.

5

87458044

GROMMET

8шт.

6

87458045

INSERT

8:32

4шт.

7

87461186

PANEL

Edge Protector

4шт.

Выбрано товаров: 0