Качественные детали и логистика
Оригинальные и аналоговые запчасти с доставкой по России, Казахстану и Беларуси
©2022 PartSell ООО "Система" ИНН 2463123282 ОГРН 1212400004838
Центральный офис: г. Красноярск, Академика Киренского, д.87, пом.4
Телефон: 8 (800) 777-65-74 Email: zakaz@partsell.ru
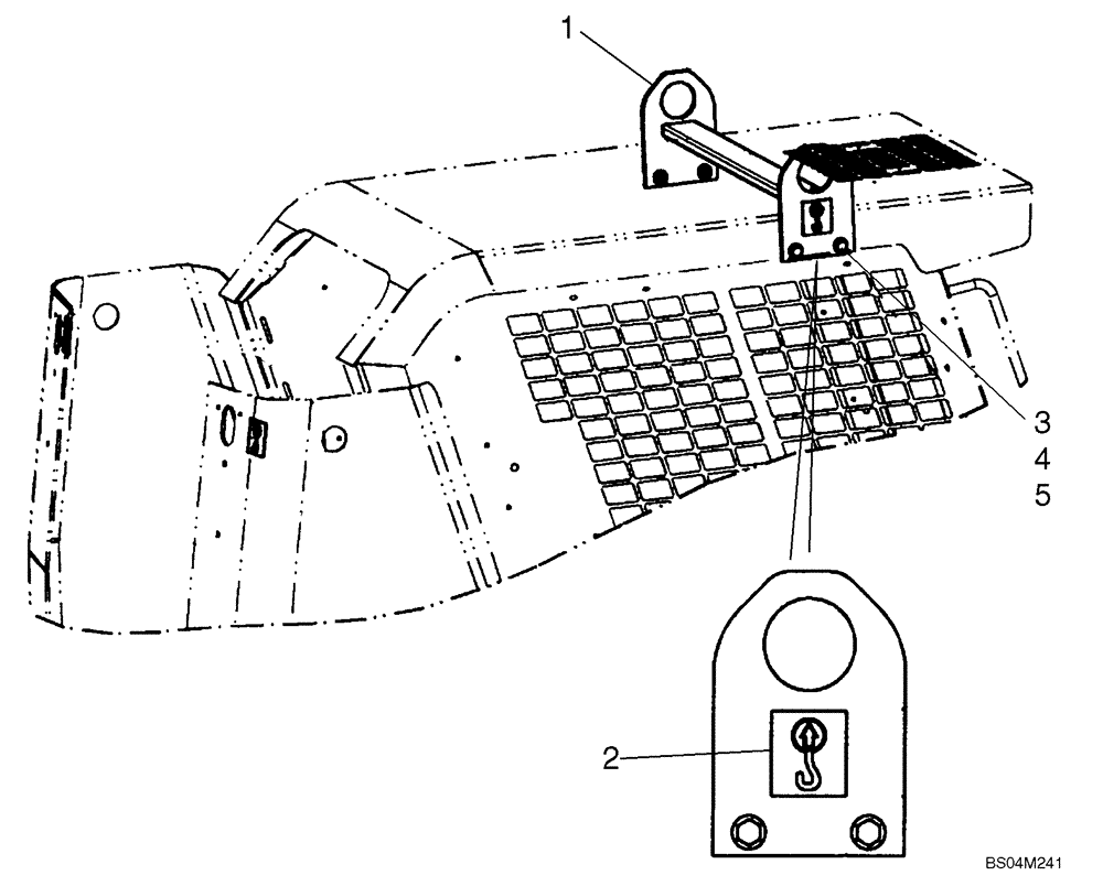
(09-40) - LIFT HOOK
№
Артикул
Название
Примечание
Количество
1
87446499
BRACKET
Lift Hook
1шт.
2
139729A1
DECAL
4шт.
3
337563
BOLT,M12 x 1.75 x 47.68mm, Cl 10.9
4
86625256
WASHER,13.3mm ID x 28.5mm OD x 4mm Thk
8шт.
5
412672
NUT,Hex, M12 x 1.75, Cl 10
Выбрано товаров: 0