Запчасти Case 435 (06-18) - MOTOR ASSY - SINGLE SPEED (06) - POWER TRAIN

Схема запчастей Case 435 - (06-18) - MOTOR ASSY - SINGLE SPEED (06) - POWER TRAIN
13
7
16
24
22
2
25
20
5
12
15
21
18
23
14
8
6
3
4
1
11
10
19
9
17
FIT
1:1
100%

Артикул

Название

Примечание

Количество

87035451

HYDRAULIC MOTOR

One Speed; Incl. Figure 06-18 - 06-20

2шт.

87035451R

REMAN-HYD MOTOR

Remanufactured Hydraulic Motor

2шт.

87035451C

CORE-MOTOR HYDRAULIC

Return Number

2шт.

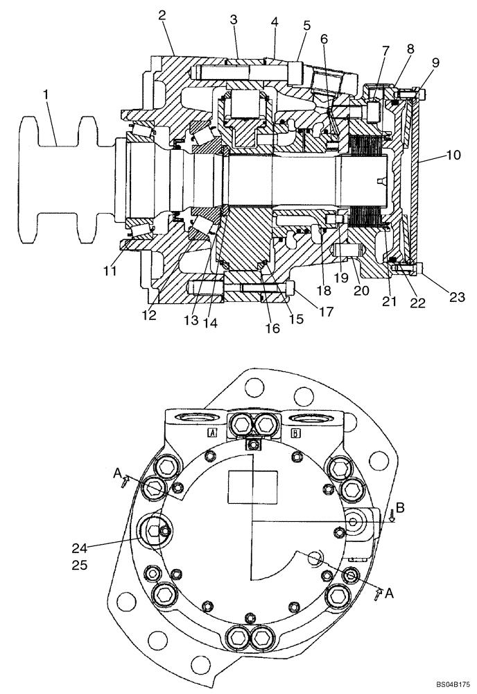
1

87039359

BEARING ASSY

Shaft And Bearing

1шт.

2

87042941

CASE

Front

1шт.

3

87042908

CAM

680/470

1шт.

4

87042953

CASE

Rear

1шт.

5

861-14080

HEX SOC SCREW,M14 x 80mm, Cl 12.9

10шт.

6

87042912

SPRING

9шт.

7

86512142

HEX SOC SCREW,M12 x 30mm, Cl 12.9, Full Thd

5шт.

8

87042921

HOUSING

Brake

1шт.

9

87042926

SPRING

Disc

1шт.

10

87042923

COVER

End

1шт.

11

87042904

BALL BEARING,70 mm ID x 110 mm OD x 25 mm

70 x 110 x 25

1шт.

12

87042905

BALL BEARING,50mm ID x 110mm OD x 29.25mm W

50 x 110 x 29.25

1шт.

13

87042903

KIT

Washer

1шт.

14

87042906

RING

Split

1шт.

15

NSS

NOT SOLD SEPARAT

1шт.

16

NSS

NOT SOLD SEPARAT

1шт.

17

861-8040

HEX SOC SCREW,M8 x 40mm, Cl 12.9

2шт.

18

87042954

RING

Distributor

1шт.

19

87042911

PIN

Stop

1шт.

20

87042927

PIN

12 x 25

3шт.

21

87042925

CLIP

87 ID

1шт.

22

87042922

PISTON

Brake Piston

1шт.

23

86512134

HEX SOC SCREW,M6 x 16mm, Cl 12.9

12шт.

24

214389

PLUG,3/4" - 16 ORB

Includes Ref. 25

1шт.

25

128825

O-RING,0.087" Thk x 0.644" ID, -908, Cl 6, 90 Duro

1шт.

Выбрано товаров: 0