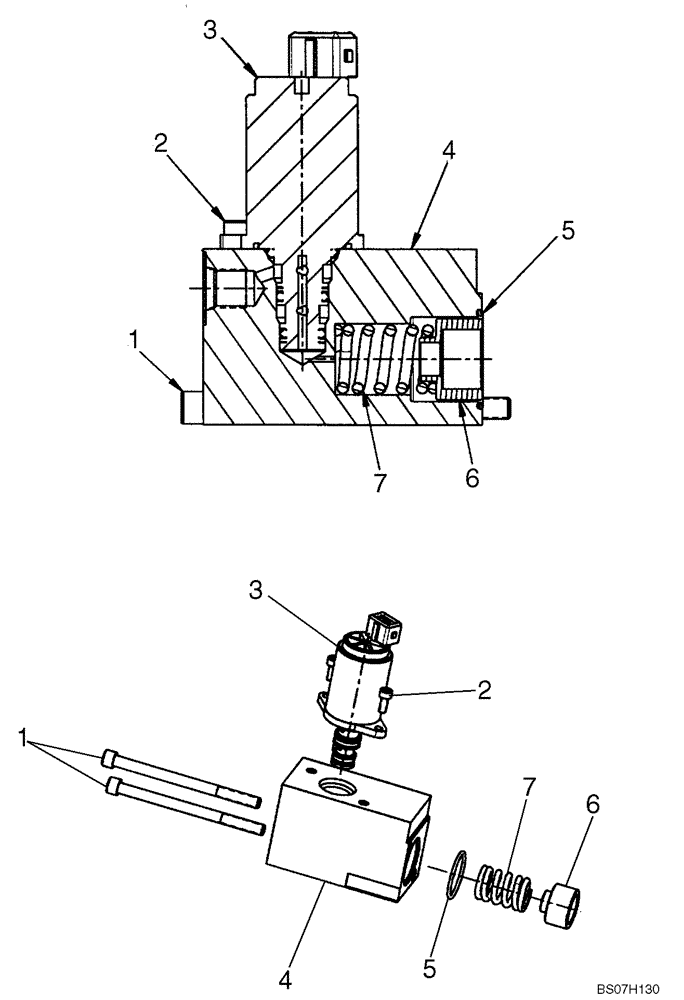
Запчасти Case 435 (08-28) - CONTROL VALVE - SPOOL END GROUP, EHPV (08) - HYDRAULICS

Схема запчастей Case 435 - (08-28) - CONTROL VALVE - SPOOL END GROUP, EHPV (08) - HYDRAULICS
4
2
7
5
1
4
5
3
2
3
6
7
7
2
FIT
1:1
100%

Артикул

Название

Примечание

Количество

87611845

SPOOL

Spool End Group, EHPV; Incl. 1 - 7

1шт.

1

NSS

NOT SOLD SEPARAT

Cap Screw

2шт.

2

NSS

NOT SOLD SEPARAT

Cap Screw

2шт.

3

87576154

SOLENOID

Proportional Pressure Reducing

1шт.

4

NSS

NOT SOLD SEPARAT

End Cap

1шт.

5

NSS

NOT SOLD SEPARAT

O-Ring

1шт.

6

NSS

NOT SOLD SEPARAT

Spring Seat

1шт.

7

NSS

NOT SOLD SEPARAT

Spring

1шт.

Выбрано товаров: 8