Запчасти Case 435 (02-21) - PISTON - ENGINE (02) - ENGINE

Схема запчастей Case 435 - (02-21) - PISTON - ENGINE (02) - ENGINE
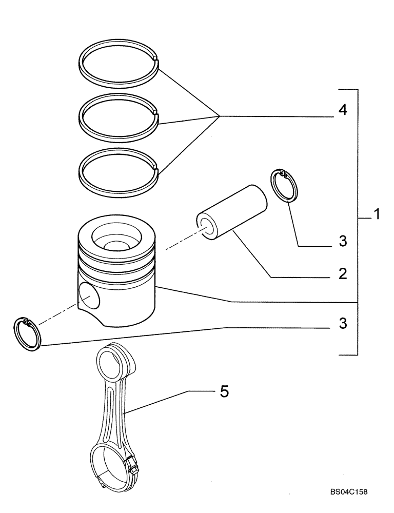
4
5
3
2
3
1
FIT
1:1
100%

Артикул

Название

Примечание

Количество

1

8093880

PISTON & RINGS KIT

Standard

3шт.

1

87317252

PISTON & RINGS KIT,0.4mm Oversize

+0,4mm (.015")

3шт.

1

87317253

PISTON & RINGS KIT

+0,8mm (.030")

3шт.

2

4892712

PISTON PIN,38mm OD x 82mm L

1шт.

3

4892713

SNAP RING,Int, M26.4

2шт.

4

8093881

PISTON RINGS KIT

Includes (1 ea) 2852036 Wear Ring, 2830158 Piston Ring, 2852037 Oil Scraper Ring

1шт.

Выбрано товаров: 6