Запчасти Case 435 (06-11) - HYDROSTATICS - DRIVE MOTORS, TWO SPEED (PILOT) (06) - POWER TRAIN

Схема запчастей Case 435 - (06-11) - HYDROSTATICS - DRIVE MOTORS, TWO SPEED (PILOT) (06) - POWER TRAIN
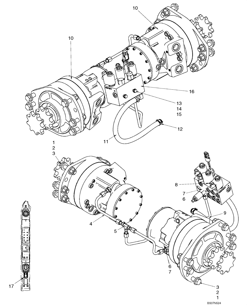
2
14
9
10
1
4
6
15
7
17
11
8
2
12
13
3
3
5
10
1
6
7
16
FIT
1:1
100%

Артикул

Название

Примечание

Количество

1

86512555

NUT,M16 x 2, Cl 10

12шт.

2

86625258

WASHER,17.5mm ID x 34mm OD x 5mm Thk

24шт.

3

9847468

BOLT,Hex, M16 x 2 x 70mm, Cl 10.9

12шт.

4

87015943

HYD TUBE,9.53 mm DIA x 153.1, 64.9 mm L

2шт.

5

76355

TEE,9/16" - 18 JIC x 9/16" - 18 JIC x 9/16" - 18 JIC

1шт.

6

76350

HYD CONNECTOR,9/16" - 18 ORB x 9/16" - 18 JIC

Incl 7

3шт.

7

9617873

O-RING,0.078" Thk x 0.468" ID, -906, Cl 6, 90 Duro

1шт.

8

86705580

FITTING,90 Degree, 1/2" Hose Bead x 9/16" - 18 ORB

1шт.

9

87599792

HYD TUBE,7.05 mm ID x 9.53 mm OD

1шт.

10

87035452

HYDRAULIC MOTOR

Drive Motor; See Fig 06-23 - 06-25

2шт.

10

87035452R

REMAN-HYD MOTOR

Remanufactured Hydraulic Motor

2шт.

10

87035452C

CORE-MOTOR HYDRAULIC

Return Number

2шт.

11

87547047

HOSE,12.7mm ID x 520mm L

Multi Valve Drain

1шт.

12

87443510

HOSE CLAMP,18.4mm Static ID x 15mm W

2шт.

13

412215

BOLT,Hex, M8 x 1.25 x 100mm, Cl 8.8

2шт.

14

86624184

WASHER,9mm ID x 16mm OD x 1.6mm Thk

2шт.

15

9628098

NUT,M8 x 1.25, Cl 10

2шт.

16

87577077

PILOT VALVE

Valve, Pilot Brake And Two Speed; See Fig 06-17; If Used

1шт.

16

87756438

BRAKE VALVE

Valve, Pilot Brake And Two Speed; See Fig 07-02

1шт.

17

87634136

SWITCH

Indicator, High Speed

1шт.

Выбрано товаров: 20