Запчасти Case 435 (06-15) - HYDROSTATICS - PUMP FITTINGS (06) - POWER TRAIN

Схема запчастей Case 435 - (06-15) - HYDROSTATICS - PUMP FITTINGS (06) - POWER TRAIN
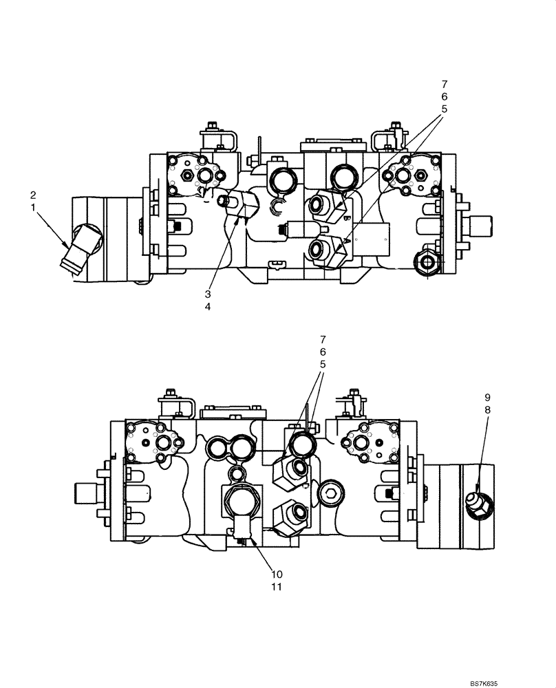
1
2
5
11
7
9
4
8
10
5
6
3
6
7
FIT
1:1
100%

Артикул

Название

Примечание

Количество

1

86729372

FITTING,90 Degree, 1 1/4" Hose x 1 5/16"-12 ORB Beaded

Incl 2

1шт.

2

167268

O-RING,0.116" Thk x 1.171" ID, -916, Cl 6, 90 Duro

1шт.

3

87021779

FITTING,45 Degree, 5/8" Hose x 1 1/16"-12 ORB Beaded

Incl 4

1шт.

4

167266

O-RING,0.116" Thk x 0.924" ID, -912, Cl 6, 90 Duro

1шт.

5

87644282

ELBOW

Incl 6, 7

4шт.

6

9991976

O-RING,0.07" Thk x 0.739" ID, -18, Cl 6, 90 Duro

4шт.

7

237-6016

O-RING,0.116" Thk x 1.171" ID, -916, Cl 6, 90 Duro

4шт.

8

100197

ELBOW,45 Degree, 7/8" - 14 JIC x 1-1/16" - 12 ORB

Incl 9; If Used

1шт.

9

167266

O-RING,0.116" Thk x 0.924" ID, -912, Cl 6, 90 Duro

If Used

1шт.

10

87418259

FITTING

Incl 11; Fitting 90Deg (20ORB X 16 Bead); If Used

1шт.

10

87681206

45 ELBOW

Connector, 1 Hose X 1-5/8-12 ORB 45D B

1шт.

11

87418259

FITTING

If Used

1шт.

Выбрано товаров: 12