Запчасти Case 435 (06-43) - KIT - GROUND DRIVE PUMP (06) - POWER TRAIN

Схема запчастей Case 435 - (06-43) - KIT - GROUND DRIVE PUMP (06) - POWER TRAIN
5
1
2
7
3
4
6
FIT
1:1
100%

Артикул

Название

Примечание

Количество

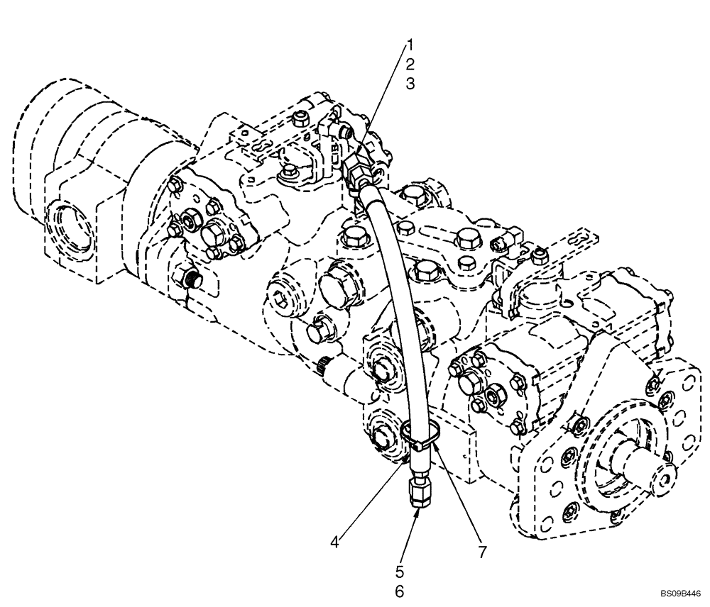
1

9840543

90 ELBOW,90 Degree, 11/16"-16 x 9/16"-18 Adj, ORFS

Incl 2-3

1шт.

2

9617873

O-RING,0.078" Thk x 0.468" ID, -906, Cl 6, 90 Duro

1шт.

3

9993141

O-RING,0.07" Thk x 0.364" ID, -12, Cl 6, 90 Duro

1шт.

4

84188102

HOSE,9.53mm ID x 410mm L, SAE 100R2

Hose, Hyd Attenuator

1шт.

5

9843614

PLUG

ORFS 3/8 Tube; Incl 6

1шт.

6

9993141

O-RING,0.07" Thk x 0.364" ID, -12, Cl 6, 90 Duro

1шт.

7

L11541

CABLE TIE,203.2mm L, Nylon

CABLE STRAP Black

1шт.

Выбрано товаров: 7