Запчасти Case 435 (08-13) - CONTROL VALVE ASSEMBLY - HIGH FLOW (08) - HYDRAULICS

Схема запчастей Case 435 - (08-13) - CONTROL VALVE ASSEMBLY - HIGH FLOW (08) - HYDRAULICS
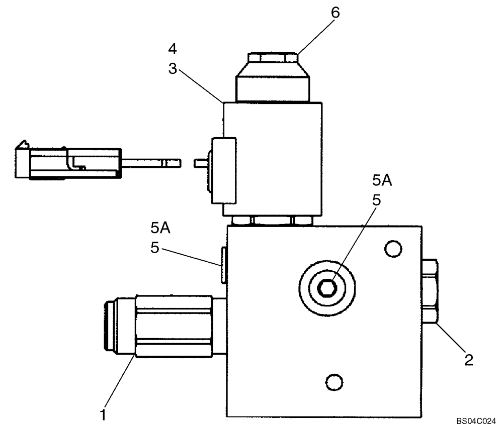
4
5
3
6
5
1
5a
5a
2
FIT
1:1
100%

Артикул

Название

Примечание

Количество

87012669

VALVE

Combination Valve; High Flow; Incl. 1 - 6 And Seal Kit 86527863

1шт.

1

87447123

VALVE

Relief Valve; Component Parts Not Serviced Separately

1шт.

2

86527866

HYDRAULIC VALVE

Check Valve; Component Parts Not Serviced Separately

1шт.

3

86527861

HYDRAULIC VALVE

Cartridge; Component Parts Not Serviced Separately

1шт.

4

87447124

SOLENOID

1шт.

5

76349

PLUG,9/16" - 18 ORB

Incl. 5A

2шт.

5a

9617873

O-RING,0.078" Thk x 0.468" ID, -906, Cl 6, 90 Duro

1шт.

6

86527865

NUT

1шт.

86527863

SEAL KIT

Not Illustrated

1шт.

Выбрано товаров: 0