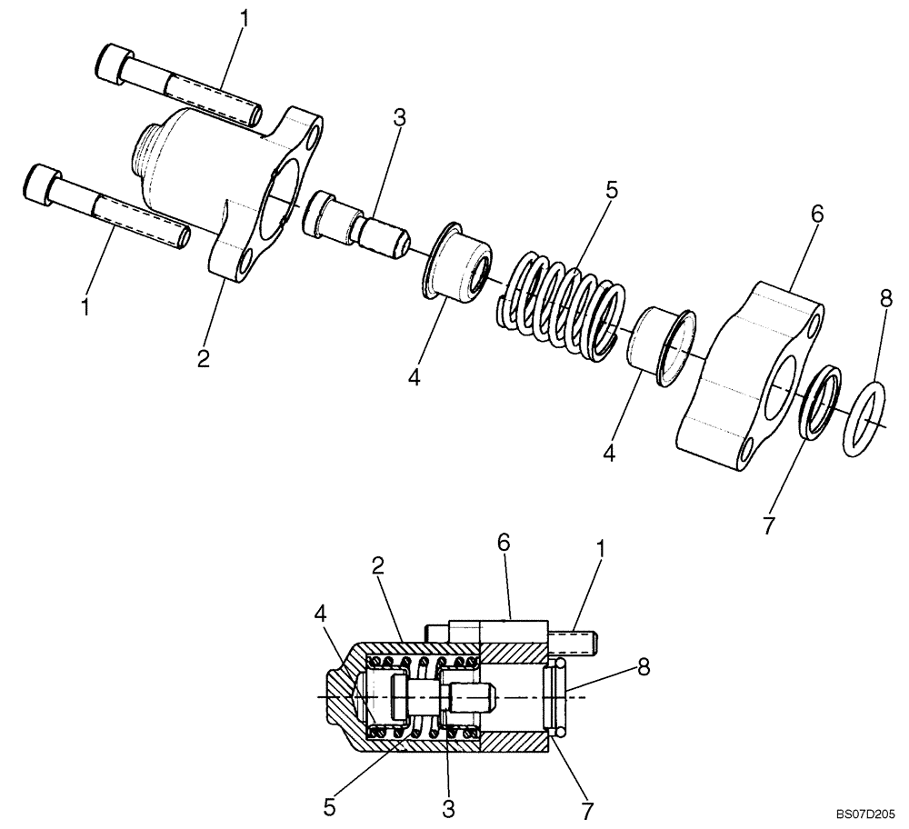
Запчасти Case 435 (08-27) - CONTROL VALVE - SPOOL END GROUP (08) - HYDRAULICS

Схема запчастей Case 435 - (08-27) - CONTROL VALVE - SPOOL END GROUP (08) - HYDRAULICS
4
8
7
6
3
5
6
1
1
7
4
8
2
5
2
1
3
4
FIT
1:1
100%

Артикул

Название

Примечание

Количество

87576168

SPOOL

Spool End Group; Incl. 1 - 8

1шт.

1

NSS

NOT SOLD SEPARAT

Cap Screw

2шт.

2

NSS

NOT SOLD SEPARAT

Spool Cap

1шт.

3

NSS

NOT SOLD SEPARAT

Spool End

1шт.

4

NSS

NOT SOLD SEPARAT

Spring Seat

2шт.

5

NSS

NOT SOLD SEPARAT

Spring

1шт.

6

NSS

NOT SOLD SEPARAT

Plate - Seal

1шт.

7

NSS

NOT SOLD SEPARAT

Wiper

1шт.

8

NSS

NOT SOLD SEPARAT

O-Ring

1шт.

Выбрано товаров: 9