Качественные детали и логистика
Оригинальные и аналоговые запчасти с доставкой по России, Казахстану и Беларуси
©2022 PartSell ООО "Система" ИНН 2463123282 ОГРН 1212400004838
Центральный офис: г. Красноярск, Академика Киренского, д.87, пом.4
Телефон: 8 (800) 777-65-74 Email: zakaz@partsell.ru
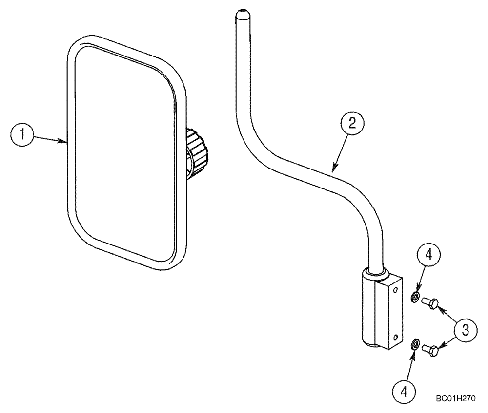
(09-53) - MOUNTING MIRROR, REAR VIEW
№
Артикул
Название
Примечание
Количество
REF
INSTRUCTION
EUROPE ONLY
1шт.
1
235994A1
MIRROR,264mm L x 162mm W
Exterior
2
310860A1
SUPPORT
3
86977726
BOLT,Hex, M6 x 12mm, Cl 8.8
2шт.
4
86588450
WASHER,6.6mm ID x 12mm OD x 1.6mm Thk
Выбрано товаров: 0