Запчасти Case 440 (02-01) - RADIATOR - COOLANT RECOVERY SYSTEM (02) - ENGINE

Схема запчастей Case 440 - (02-01) - RADIATOR - COOLANT RECOVERY SYSTEM (02) - ENGINE
10
13
7
14
1
5
9
6
16
2
4
6
11
3
15
8
7
12
4
FIT
1:1
100%

Артикул

Название

Примечание

Количество

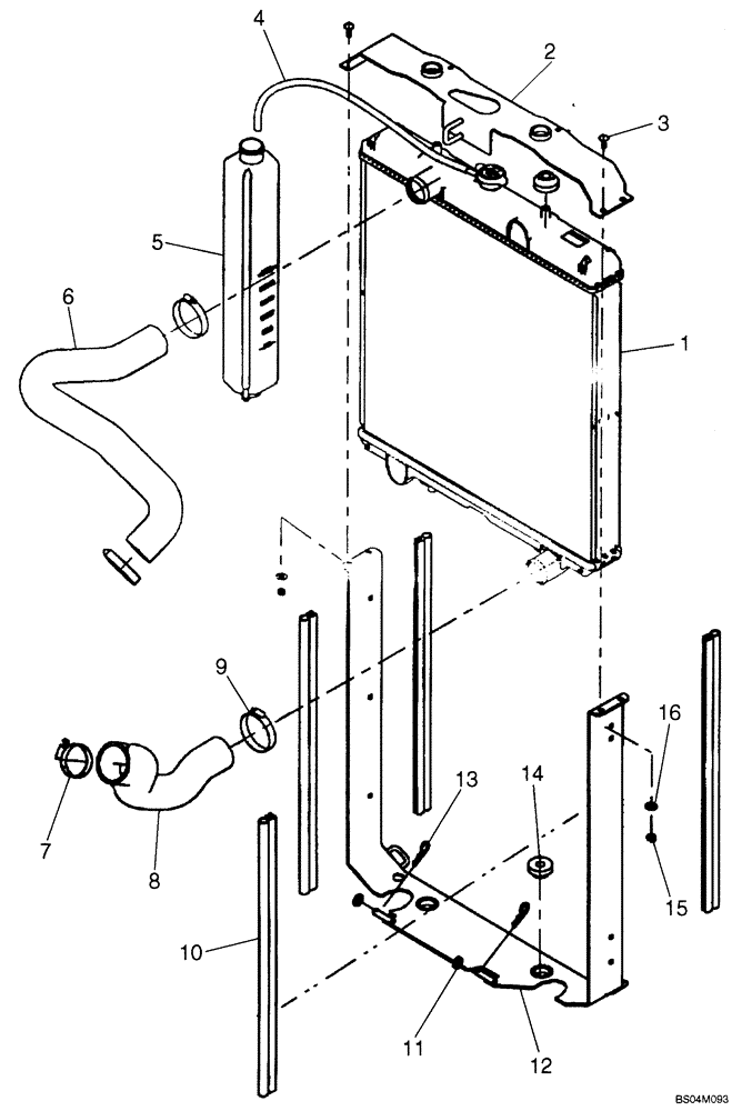
1

87013856

RADIATOR

Incl. 1A, 1B

1шт.

1a

87032485

DRAINCOCK/TAP SUPPLY

Drain

1шт.

1b

87032486

RADIATOR CAP

1шт.

2

87459340

FRAME

Upper Radiator; Component Parts Not Serviced Separately

1шт.

3

280638

CARRIAGE BOLT,Short NK, 1/4"-20 x 3/4", G5, Full Thd

4шт.

4

87023365

HOSE,7.9mm ID x 500mm L, SAE 20R3

Coolant Recovery

1шт.

5

87020980

BOTTLE,2L

Incl. Cap 257884A1

1шт.

257884A1

CAP

1шт.

6

87040170

RADIATOR HOSE,45.00 mm ID, 290.00 mm, SAE 20R4 CLASS D1 or D2

Upper

1шт.

7

45014

HOSE CLAMP,2.06” - 3” , Worm Gear

1шт.

8

87040171

RADIATOR HOSE,45.00 mm ID, 58.00 mm ID, 285.60 mm, SAE 20R4 CLASS D1 or D2

Lower

1шт.

8

87521672

RADIATOR HOSE,45.00 mm ID, 58.00 mm ID x 281.00 mm, SAE 20R4 Class D1 Or D2

Lower, Replaces 87037868

1шт.

9

86050202

HOSE CLAMP,1.59” - 2.5”, Worm Gear

3шт.

10

87033635

SEAL

4шт.

11

86624176

WASHER,11mm ID x 20mm OD x 2mm Thk

If Used

2шт.

12

87393454

FRAME

Lower Radiator; Replaces 87050449

1шт.

13

216698

COTTER PIN,0.125" OD x 1.75" L

If Used

2шт.

14

87017045

CUSHION

4шт.

15

7770

NUT,Hex, 1/4 - 20, Cl 5

4шт.

15

322358

BELLEVILLE WASHER,M8 Bolt Size x 18mm OD x 1.4mm Thk

4шт.

Выбрано товаров: 20