Запчасти Case 440 (06-22) - MOTOR ASSY - TWO SPEED (06) - POWER TRAIN

Схема запчастей Case 440 - (06-22) - MOTOR ASSY - TWO SPEED (06) - POWER TRAIN
12
6
19
1
13
2
18
4
11
8
10
15
9
7
16
3
5
14
17
FIT
1:1
100%

Артикул

Название

Примечание

Количество

87035342

HYDRAULIC MOTOR,470CC

Two Speed; Incl. Figure 06-21 - 06-23

2шт.

87035342R

REMAN-HYD MOTOR,470CC

440 BSN N8M474469, 2 Speed

2шт.

87035342C

CORE-MOTOR HYDRAULIC

Return Number

2шт.

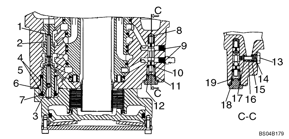
1

87042918

SPRING

Shut Off

1шт.

2

87042913

SPOOL

1шт.

3

87042917

SPRING

6 x 16

1шт.

4

87042914

KIT

Washer And Spring Kit; Incl. 5

1шт.

5

NSS

NOT SOLD SEPARAT

Washer

1шт.

6

87042916

O-RING,34.65MM ID x 1.78MM Width

34.65 x 1.78

1шт.

7

87042915

CLIP

18 dia

1шт.

8

87042934

SPRING

Flushing Side A

1шт.

9

NSS

NOT SOLD SEPARAT

Shear Plug; M8

2шт.

10

87042929

WASHER

1.5 Thick

1шт.

11

87042935

SPRING

Flushing Side B

1шт.

12

87042928

SPOOL

Flushing

1шт.

13

87042933

POPPET,Plug, 7/16" SAE

7/16

1шт.

14

NSS

NOT SOLD SEPARAT

O-Ring; 8.92 x 1.83; Included In 87039371, Seal Kit, See Figure 06-23

1шт.

15

87042931

POPPET,RV 1.7 Orifice

1.7 Orifice

1шт.

16

87042932

SPRING

Flushing

1шт.

17

87042930

SHIM

0.6

1шт.

18

214389

PLUG,3/4" - 16 ORB

1шт.

19

NSS

NOT SOLD SEPARAT

O-Ring 11.90 x 1.98; Included In 87039371 Seal Kit; See Figure 06-23

1шт.

Выбрано товаров: 22