Запчасти Case 440 (09-22) - NOISE KIT - EUROPE (09) - CHASSIS

Схема запчастей Case 440 - (09-22) - NOISE KIT - EUROPE (09) - CHASSIS
14
11
5
2
29
26
4
24
16
3
6
10
8
20
18
1
19
28
12
15
21
9
23
2
17
25
27
1
13
7
30
22
FIT
1:1
100%

Артикул

Название

Примечание

Количество

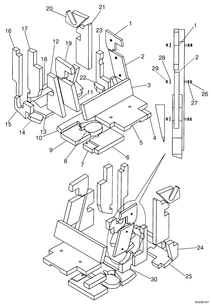
1

87460184

PAD

ROPS

1шт.

2

87460185

PAD

ROPS

1шт.

4

87460189

PAD

Left Chain Tank

1шт.

3

87460181

PAD

ROPS

1шт.

5

402038A1

PAD

Seat Plate

1шт.

6

87461279

PAD

1шт.

7

87460202

PAD

1шт.

8

87460173

PAD

1шт.

9

87460175

PAD

1шт.

10

87460174

PAD

1шт.

11

87461281

PAD

ROPS

1шт.

12

87460168

PAD

Right Tower

1шт.

13

87460178

PAD

1шт.

14

87460179

PAD

1шт.

15

87460171

PAD

Right Tower

1шт.

16

87460170

PAD

Right Tower

1шт.

17

87460169

PAD

Right Tower

1шт.

18

87460172

PAD

1шт.

19

87460182

PAD

ROPS

1шт.

20

87460166

PAD

Left Tower

1шт.

21

87460101

PAD

Left Tower

1шт.

22

87460190

PAD

Left Chain Tank

1шт.

23

87460164

PAD

Left Tower

1шт.

24

87460167

PAD

Left Tower

1шт.

25

87460180

PAD

1шт.

26

300381

BOLT,Hex, M8 x 1.25 x 35mm, Cl 8.8

3шт.

27

86624184

WASHER,9mm ID x 16mm OD x 1.6mm Thk

3шт.

28

86639313

WASHER,9mm ID x 24mm OD x 2mm Thk

3шт.

29

9628098

NUT,M8 x 1.25, Cl 10

3шт.

30

87460165

PAD

Left Tower

1шт.

Выбрано товаров: 0