Запчасти Case 440 (09-22B) - NOISE CONTROL, NORTH AMERICAN; IF USED (09) - CHASSIS

Схема запчастей Case 440 - (09-22B) - NOISE CONTROL, NORTH AMERICAN; IF USED (09) - CHASSIS
7
5
13
1
8
12
4
2
11
9
3
10
6
FIT
1:1
100%

Артикул

Название

Примечание

Количество

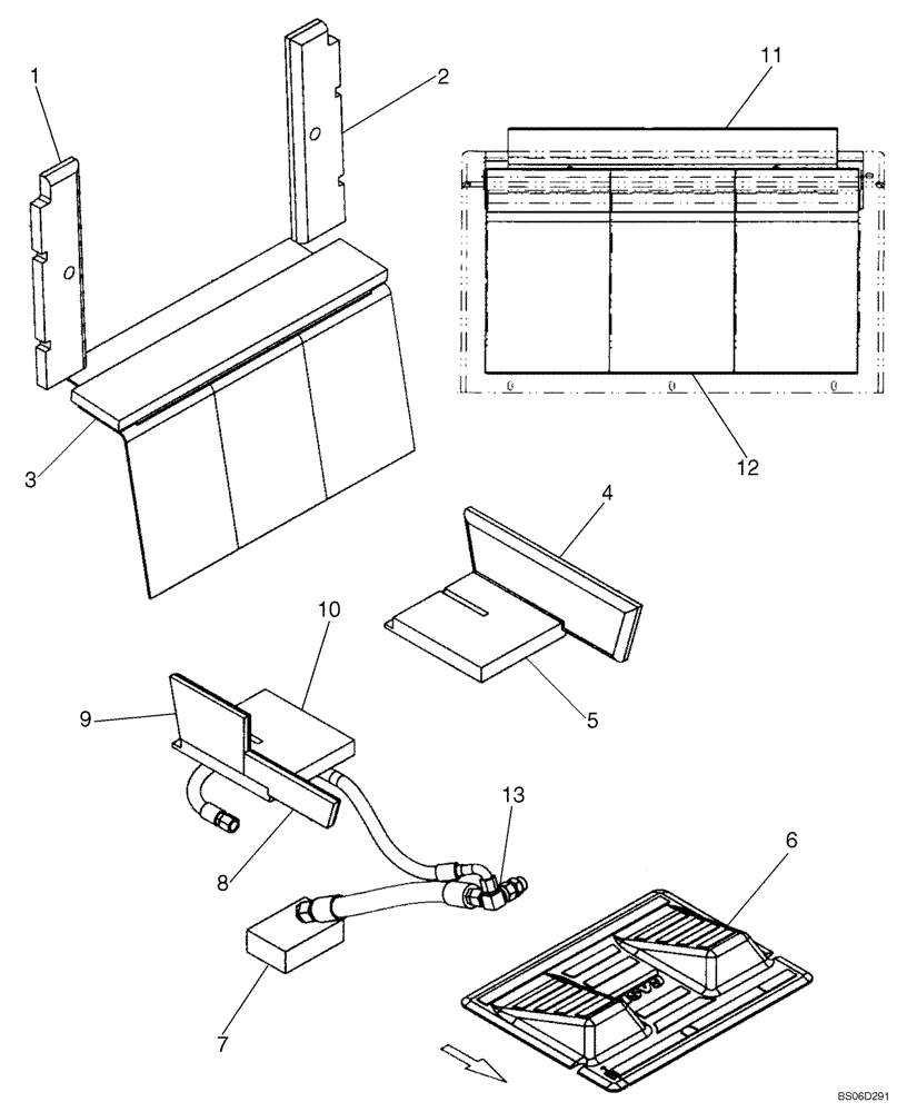
1

402043A1

PAD

Rear Window Right

1шт.

2

402040A1

PAD

Rear Window Left

1шт.

3

402045A1

PAD

Rear Window Top

1шт.

4

402041A1

PAD

Lower Left Hand Side Screen

1шт.

5

429673A1

INSULATING PANEL

Left Hand Seat Plate

1шт.

6

87461561

FLOOR MAT

1шт.

7

87353205

PAD

Right Tower

1шт.

8

434733A1

PAD

Right Hand Lower Side Screen

1шт.

9

402042A1

PAD

Lower Right Hand Side Screen

1шт.

10

429672A1

INSULATING PANEL

Right Hand Seat Plate

1шт.

11

318166A1

INSULATOR

Sound Dampening, Lower

1шт.

12

318165A1

INSULATOR

Sound Dampening, Upper

3шт.

13

REF

INSTRUCTION

See Figure 06-02B

1шт.

Выбрано товаров: 13