Запчасти Case 440 (09-22E) - NOISE KIT, 89 DBA - EUROPE (09) - CHASSIS

Схема запчастей Case 440 - (09-22E) - NOISE KIT, 89 DBA - EUROPE (09) - CHASSIS
29
22
30
14
7
2
1
10
12
23
25
2
20
1
28
8
3
18
27
11
9
26
4
13
21
5
15
6
24
17
19
16
FIT
1:1
100%

Артикул

Название

Примечание

Количество

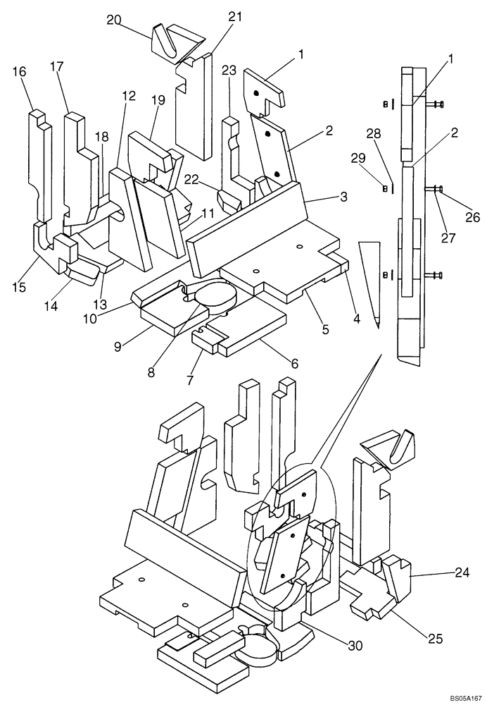
1

87460184

PAD

ROPS

1шт.

2

87460185

PAD

ROPS

1шт.

3

87460181

PAD

ROPS

1шт.

4

87460189

PAD

Left Chain Tank

1шт.

5

402038A1

PAD

Seat Plate

1шт.

6

87584433

PAD

102 mm, 4.00 in. Thick

1шт.

7

87460202

PAD

1шт.

8

87584429

PAD

76 mm, 3.00 in. Thick

1шт.

9

87584432

PAD

76 mm, 3.00 in. Thick

1шт.

10

87584431

PAD

76 mm, 3.00 in. Thick

1шт.

11

87461281

PAD

ROPS

1шт.

12

87559703

PAD

Right Tower; 51 mm, 2.00 in. Thick

1шт.

13

87584434

PAD

102 mm, 4.00 in. Thick

1шт.

14

87584435

PAD

76 mm, 3.00 in. Thick

1шт.

15

87460171

PAD

Right Tower

1шт.

16

87460170

PAD

Right Tower

1шт.

17

87460169

PAD

Right Tower

1шт.

18

87460172

PAD

1шт.

19

87460182

PAD

ROPS

1шт.

20

87584332

PAD

Left Tower; 102 mm, 4.00 in. Thick

1шт.

21

87584243

PAD

Left Tower, 51mm, 2.00 in. Thick

1шт.

22

87584436

PAD

Left Chain Tank, 102 mm, 4.00 in. Thick

1шт.

23

87460164

PAD

Left Tower

1шт.

24

87460167

PAD

Left Tower

1шт.

25

87460180

PAD

1шт.

26

300381

BOLT,Hex, M8 x 1.25 x 35mm, Cl 8.8

3шт.

27

86624184

WASHER,9mm ID x 16mm OD x 1.6mm Thk

3шт.

28

86639313

WASHER,9mm ID x 24mm OD x 2mm Thk

3шт.

29

9628098

NUT,M8 x 1.25, Cl 10

3шт.

30

87460165

PAD

Left Tower

1шт.

Выбрано товаров: 30