Качественные детали и логистика
Оригинальные и аналоговые запчасти с доставкой по России, Казахстану и Беларуси
©2022 PartSell ООО "Система" ИНН 2463123282 ОГРН 1212400004838
Центральный офис: г. Красноярск, Академика Киренского, д.87, пом.4
Телефон: 8 (800) 777-65-74 Email: zakaz@partsell.ru
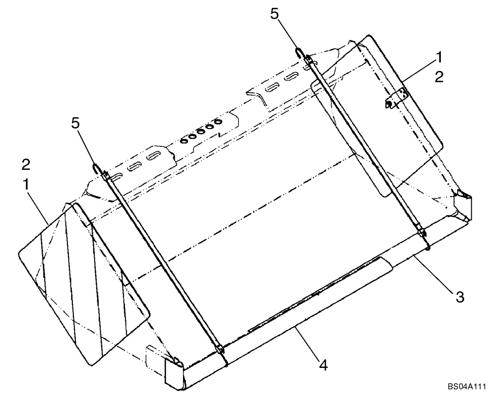
(09-41) - SPECIAL PARTS FOR ITALY - GUARD, BUCKET
№
Артикул
Название
Примечание
Количество
1
631816
THUMB SCREW,3/8" - 16 x 1"
Wing
2шт.
2
86530079
GUARD
Bucket
3
86565640
Right Hand
1шт.
4
86565641
Left Hand
5
434346A1
ELASTIC STRAP,35” L
24 Inch
Выбрано товаров: 0